EasyManua.ls Logo

Trane GAM5A0C48M41SAA - Page 14

Trane GAM5A0C48M41SAA
40 pages
Print Icon
To Next Page IconTo Next Page
To Next Page IconTo Next Page
To Previous Page IconTo Previous Page
To Previous Page IconTo Previous Page
Loading...
14
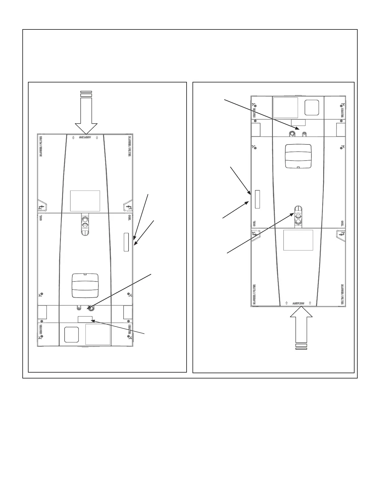
To place the unit in the configuration your application requires (upflow, downflow, horizontal right, or horizontal left),
simply turn the unit to that orientation.
Note: The air handlers are shipped from the factory suitable for four-way conversion. They are shipped in the down-
flow orientation.
6.2 Four-Way Conversion
Upflow
Condensate
Drains
Refrigerant
Connections
Downflow
Condensate
Drains
Downflow Configuration
(as shipped)
Refrigerant
Connections
Airflow
Upflow Configuration
Low Voltage
Connections
inside unit
Low Voltage
Connections
inside unit
Airflow
Control
Pocket
Inside unit
Control
Pocket
Inside unit

Related product manuals