EasyManua.ls Logo

Traulsen RBC100 - Understanding Printouts: Warning Notifications; Food Probe Failure Warnings

Traulsen RBC100
28 pages
Print Icon
To Next Page IconTo Next Page
To Next Page IconTo Next Page
To Previous Page IconTo Previous Page
To Previous Page IconTo Previous Page
Loading...
-19-
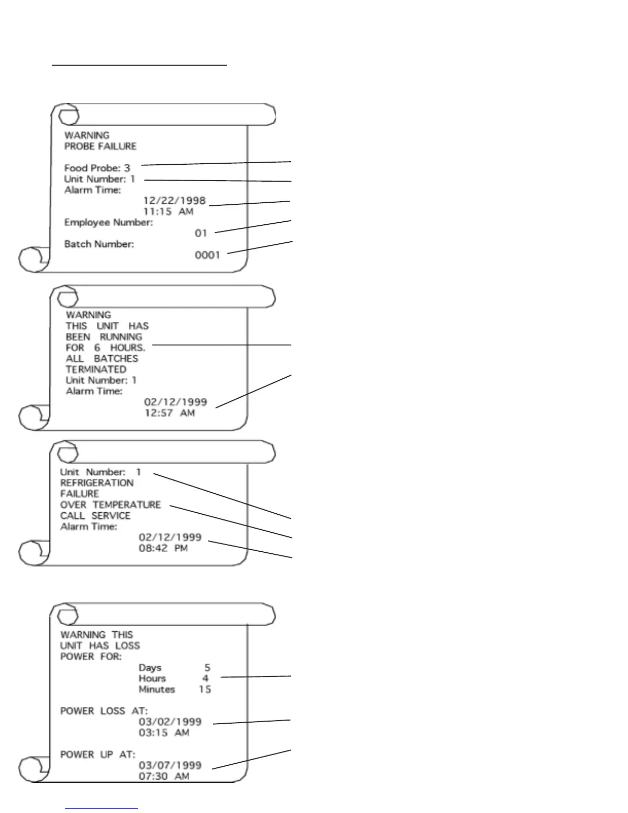
VIII.e - FOOD PROBE FAILURE WARNINGS:
VIII. UNDERSTANDING PRINTOUTS (contd)
FOOD PROBE FAILURE WARNING:
Alarm occurs only during a programmed batch.
Failed Food Probe
Unit Number Location of Failed Probe
Alarm Date & Time
Employee Number
Batch Number
CHILL CYCLE BATCH OVER 6 HOURS:
Alarm occurs when a programmed batch runs for more
than 6 hours. The chill cycle will continue to run until
complete or cancelled/
6-Hour Batch Warning Notification
Alarm Date & Time
REFRIGERATION FAILURE:
Alarm occurs when interior temperature remains over
100°F (37.8°C) for more than 20 minutes. CAUTION: The
blast chill unit will shut down and requires power OFF
and then back ON to reset normal operation (reset
button will not work).
Unit Number With Refrigeration Failure
Refrigeration Failure Over Temperature Warning
Alarm Date & Time
POWER LOSS NOTIFICATION:
Alarm occurs as a result of a power loss, immediately
after power is restored.
Power Loss Warning
NOTES: Days
Hours
Minutes
Power Loss
Date & Time
Power Is Restored
Date & Time

Table of Contents

Other manuals for Traulsen RBC100

Related product manuals