-42-
SE - KWJ700/900
MONTERING OCH JUSTERING
Rekommenderade skärdjup och spel
Se till att fräsens spets undviker undersidan med 3mm.
Korrekta skruvurtagsdjup
40mm
Skära 1
3mm
Skära 2
8mm
Skära 4
Final cut
Skära 3
Bänkskiva
Skära 5
PF
SE
Fräs
FundamentStyrbussning Ø30mm
P Lokaliseringsstift
8.5mm
Bänkskiva
Mall
8 6
Kvinna
9
Manlig
7
Manlig
90
o
90
o
Gemensam (35mm Infälld)
Gemensam (35mm Infälld)
45
o
Gemensam
4
5
Kvinna
Manlig
35mm
Infälld
2
Kvinna
3
Manlig
Manlig
Kvinna
5
Manlig
3
4 2
Fräs
FundamentStyrbussning Ø30mm
P Lokaliseringsstift
8.5mm
Bänkskiva
Mall
8.5mm
8.5mm
5.5mm
10mm
8.5mm
8.5mm
8.5mm
Börja här
Börja här
Skär med laminatet nedåt
Skär med laminatet uppåt
8.5mm
Börja här
Börja här
Graverade linjer
12,7mm
50mm
No.20
PVA
SEALANT
Waterproof
UNIBASE
t
r
e
n
d
3
0
m
m
R
40mm
1
8mm
2
4
5
3
40mm 28mm
30mm 20mm
Bänkskiva
Bänkskiva
P
35mm
Infälld
CL
CL
CL
CL
CL
CL
CL
CL
PF
W
PF
PF
Skär med
laminatet
uppåt
Skär med
laminatet
nedåt
PF
PF
PF
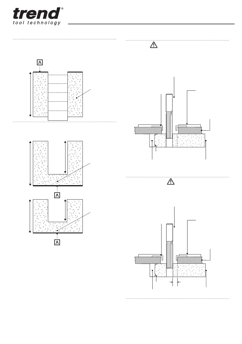
Typer av snitt
Grovsnitt
Uppsättning för grovskärning.
Avslutande snitt
Inställning för avslutning.
Fräs
FundamentStyrbussning Ø30mm
Bänkskiva
Mall
PF
P Lokaliseringsstift
Fräs
Fundament
8.65mm
Mall
Styrbussning Ø30mm
PF