EasyManua.ls Logo

Triax COFDM - Introduction to the COFDM Module; Product Disposal Guidelines; Box Contents and Packaging; COFDM Module Description

Triax COFDM
52 pages
Print Icon
To Next Page IconTo Next Page
To Next Page IconTo Next Page
To Previous Page IconTo Previous Page
To Previous Page IconTo Previous Page
Loading...
2
Rev. 05 - 2011 - B
Contents
Contents
Disposal .................................................................................................................................. 3
Box content ............................................................................................................................ 3
COFDM module ..................................................................................................................... 3
Labels ..................................................................................................................................... 4
Module installation ................................................................................................................ 4
Module removal ..................................................................................................................... 4
CAM/Smart card .................................................................................................................... 5
Status LED’s ........................................................................................................................... 6
Configuration of system ....................................................................................................... 6
Log in ...................................................................................................................................... 7
System window ..................................................................................................................... 8
Communication icon ............................................................................................................. 9
Administration window ......................................................................................................... 9
Language settings ............................................................................................................. 10
Country settings ................................................................................................................. 11
Time zone settings ............................................................................................................. 12
Password settings ............................................................................................................. 14
Licence handling ................................................................................................................ 15
IP settings .......................................................................................................................... 16
Create a new system configuration ................................................................................... 20
Save configuration .............................................................................................................. 21
Change system configuration ............................................................................................ 21
CA Modules window ........................................................................................................... 22
CA Modules configuration window .................................................................................... 23
Status information .............................................................................................................. 24
Output window .................................................................................................................... 25
Configuration of output modules ....................................................................................... 26
Status information .............................................................................................................. 32
Delete setup ....................................................................................................................... 33
Network window .................................................................................................................. 34
Channel list .......................................................................................................................... 36
Log file .................................................................................................................................. 37
Update firmware .................................................................................................................. 40
Reboot system ..................................................................................................................... 45
Load to TDX ......................................................................................................................... 46
Load from TDX ..................................................................................................................... 47
System information ............................................................................................................. 48
Your notes ............................................................................................................................ 50
3
Rev. 05 - 2011 - B
Introduction
Disposal
Within in the European Union this label indicates that the product
cannot be disposed of with the general household waste. Neither
the headend nor the input and output modules can be disposed of
with the general household waste.
For proper treatment and recycling of old products, please take
them to designated collection points in accordance with your na-
tional legislation.
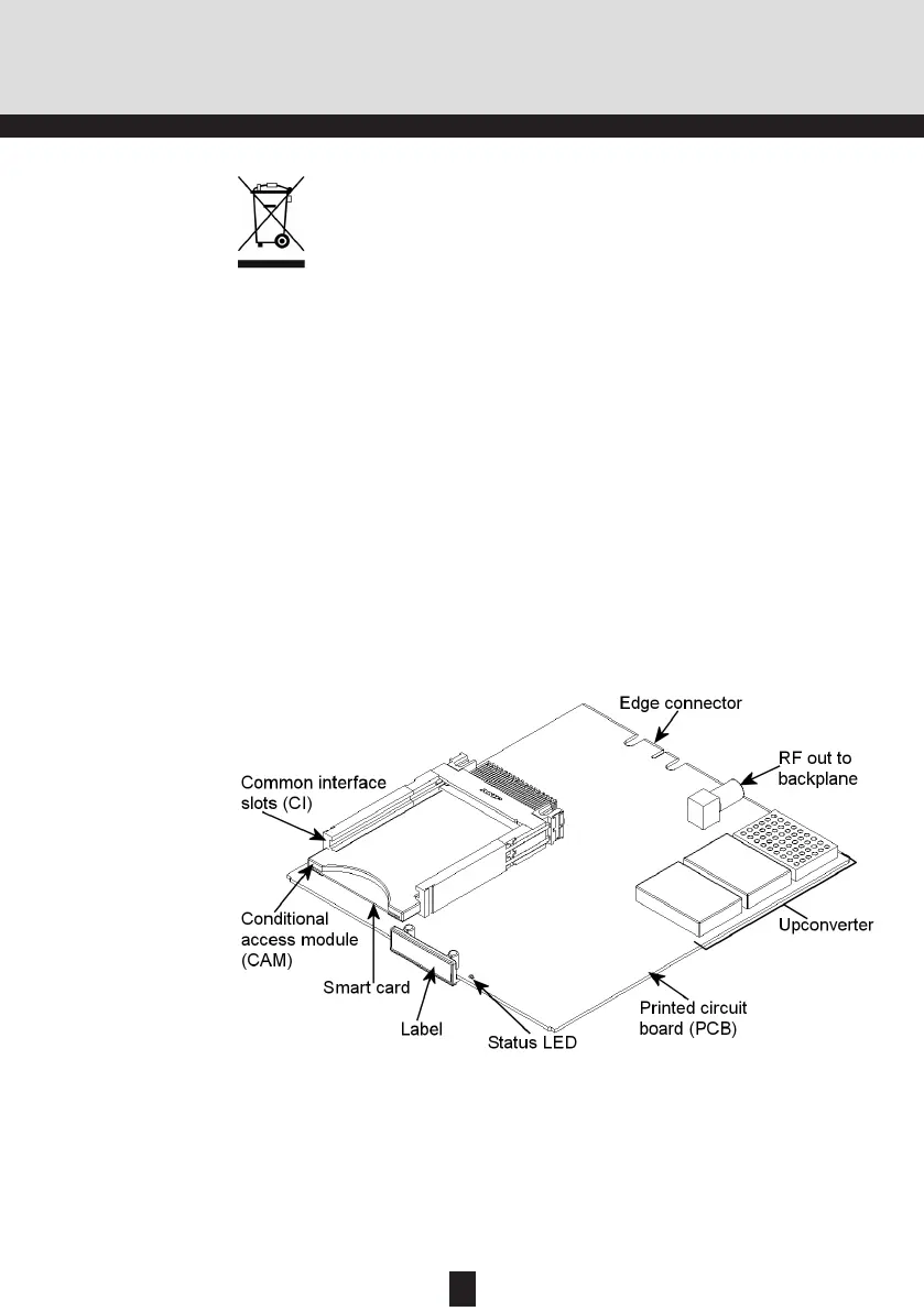
The COFDM output module is one of the output modules that you can install
in the output section of your TDX headend unit.
The COFDM output module is available in two versions, one version with
Common Interface (CI) and one without.
Below you can see an illustrated description of a COFDM module with CI
slots.
COFDM module
Box content
A new output module is wrapped in antistatic bubble wrap and packed in a
cardboard box when you receive it.
Included in the box is a user guide instructing you in how to use the TDX
Service Tool to configure the module.