EasyManua.ls Logo

Tripp Lite SmartPro SMART1500RM2UL - Connecting the Battery

Tripp Lite SmartPro SMART1500RM2UL
60 pages
Print Icon
To Next Page IconTo Next Page
To Next Page IconTo Next Page
To Previous Page IconTo Previous Page
To Previous Page IconTo Previous Page
Loading...
4
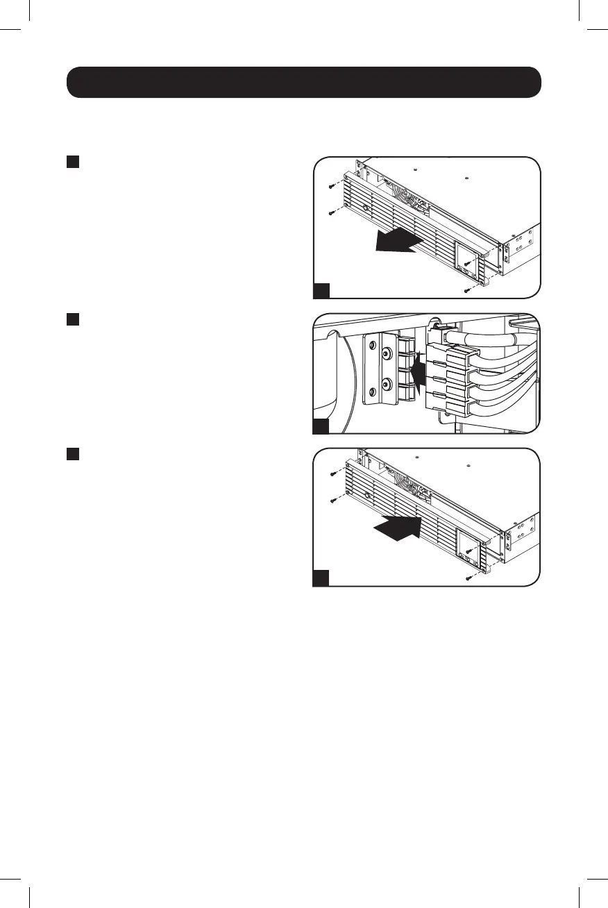
Connecting the Battery
1
4 x screws
1
Remove Front Panel.
The UPS is shipped with the battery disconnected. The battery must be connected for the UPS to
operate; this should be done prior to connecting the UPS to AC mains or connecting any
equipment to the UPS. Follow the installation procedure below:
2
2
Connect Batteries.
Attach both sets of connectors as shown:
black-to-black and red-to-red.
Always ensure that the battery
terminals are properly secured.
3
4 x screws
3
Replace Front Panel.
18-01-271-933440.indb 4 1/25/2018 3:23:15 PM

Related product manuals