EasyManua.ls Logo

TrueCam A5s - G) Video Mode

TrueCam A5s
200 pages
Print Icon
To Next Page IconTo Next Page
To Next Page IconTo Next Page
To Previous Page IconTo Previous Page
To Previous Page IconTo Previous Page
Loading...
9
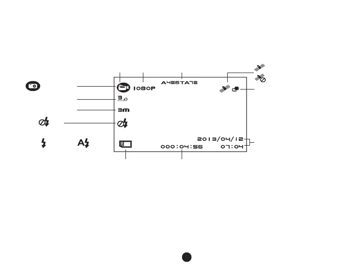
g) Video mode
In the standby status of the video mode, LCD display will be shown as below:
Power indicator
Available recording time
(Estimate from TF card available space)
Date and time
Photo mode
Driver's name
Video mode Video resolution
GPS satellite connected
GPS satellite not connected
TF card icon
Photo size
Auto loop setting
LED light Off
LED light ON LED light auto

Table of Contents

Related product manuals