EasyManua.ls Logo

TrueCam A5s - G) Tryb Nagrywania

TrueCam A5s
200 pages
Print Icon
To Next Page IconTo Next Page
To Next Page IconTo Next Page
To Previous Page IconTo Previous Page
To Previous Page IconTo Previous Page
Loading...
9
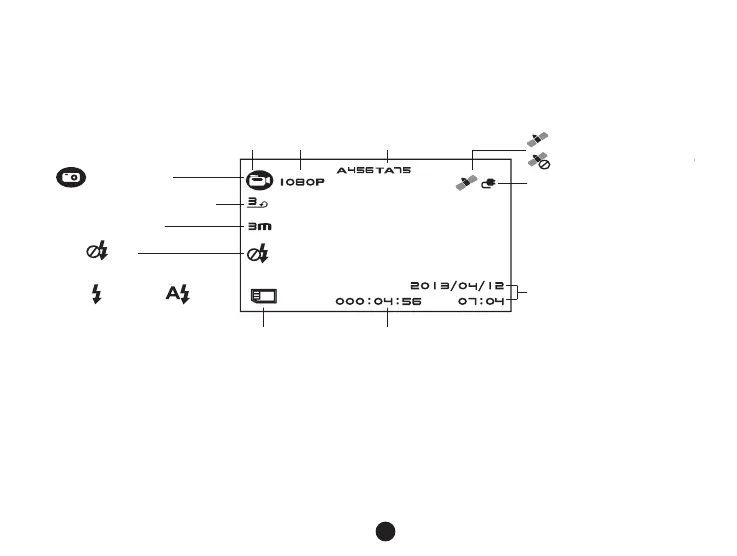
g) Tryb nagrywania

Znak dostawy energii
Pozostały czas nagrania
(według wolnego miejsca na TF karcie)
Data i czas
Fotografowanie
Numer rejestracji
Tryb nagrywania Rozdzielczość wideo
Udana GPS komunikacja
Brak sygnału GPS lokalizatora
Ikona
TF karty
Wielkość fotografii
Ustawienie automatycznej pętli
Oświetlenie wyłączone
Oświetlenie
włączone
Automatyczne
uruchomienie
oświetlenia

Table of Contents

Related product manuals