EasyManua.ls Logo

TrueCam A5s - G) RežIM NahráVání

TrueCam A5s
200 pages
Print Icon
To Next Page IconTo Next Page
To Next Page IconTo Next Page
To Previous Page IconTo Previous Page
To Previous Page IconTo Previous Page
Loading...
9
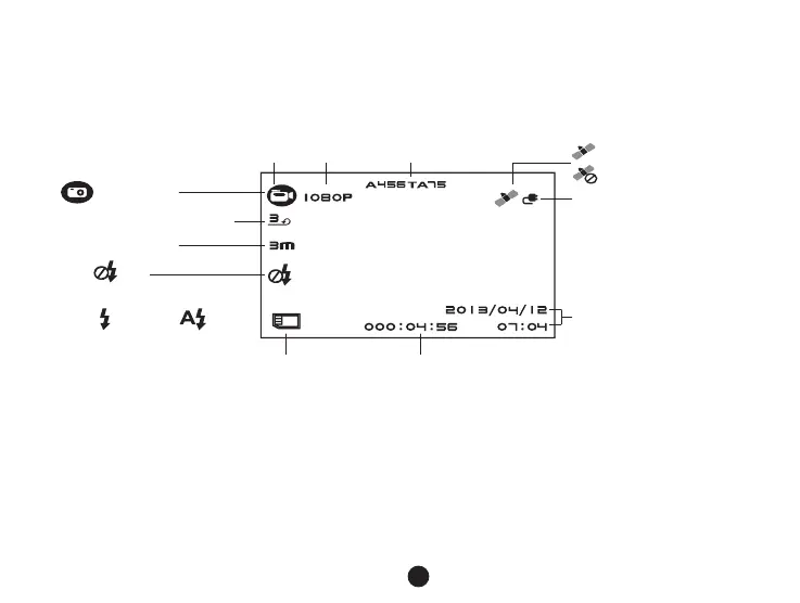
g) Režim nah

Značka dodávky energie
Zbývající čas nahrávání
(Podle volného místa na TF kartě)
Datum a čas
Fotografování
Název řidiče
Režim nahrávání Rozlišení videa
Úspěšná GPS komunikace
GPS lokátor nemá signál
Ikona
TF karty
Velikost fotografie
Nastavení automatické smyčky
Přísvit vypnutý
Přísvit zapnutý Automatické
spuštění přísvitu

Table of Contents

Related product manuals