EasyManua.ls Logo

TrueCam A5s - G) Aufnahmemodus

TrueCam A5s
200 pages
Print Icon
To Next Page IconTo Next Page
To Next Page IconTo Next Page
To Previous Page IconTo Previous Page
To Previous Page IconTo Previous Page
Loading...
9
g) Aufnahmemodus
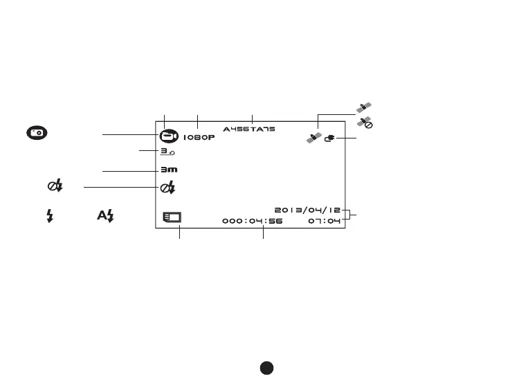
Im Bereitschaftsmodus sieht das Display wie folgt aus:
Stromeinspeisung
Restliche Aufnahmezeit
(entsprechend dem freien Platz auf der Speicherkarte)
Datum und Uhrzeit
Fotografieren
Fahrername
Aufnahmemodus
Videoauflösung
GMS Verbindung hergestellt
Kein GPS Signal
SD Kartensymbol
Fotoauflösung
Einstellung der automatischen
Endlosschleife
LED Beleuchtung aus
LED
Beleuchtung an
Automatische
Einschaltung der LED
Beleuchtung

Table of Contents

Related product manuals