EasyManua.ls Logo

TuffStuff SXT-550 - Page 22

TuffStuff SXT-550
60 pages
Print Icon
To Next Page IconTo Next Page
To Next Page IconTo Next Page
To Previous Page IconTo Previous Page
To Previous Page IconTo Previous Page
Loading...
SXT-550 Deluxe Hybrid Trainerwww.tustutness.com
22
134
85
134
147
134
94
147
134
134
85
94
145
103
85
37
147
134
94
*46
94
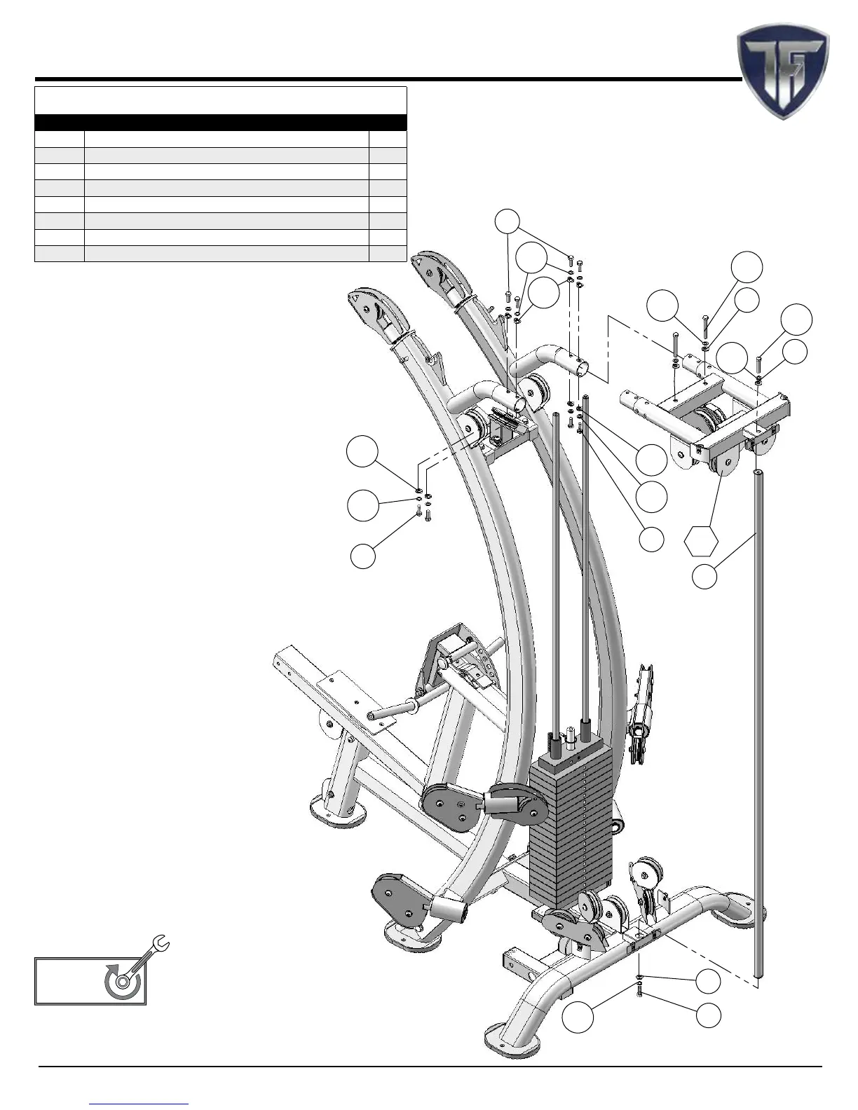
Step 5
Step 5 Assembly List
Item # Description Qty.
37 REAR SUPPORT SHAFT 1
*46 TOP ASSEMBLY 1
85 FLAT WASHER SAE Z/P 3/8” 4
94 HEX HEAD CAP SCREW GR-5 Z/P 3/8-16 X 1 9
103 HEX HEAD CAP SCREW GR-5 Z/P 3/8-16 X 1 3/4 1
134 SPLIT LOCK WASHER Z/P 3/8” 12
145 HEX HEAD CAP SCREW GR-5 Z/P 3/8-16 X 2 3/4 2
147 OVAL WASHER Z/P 3/8” 8
100%
Fully Tighten
Fully Tighten
Wrench tighten all hardware in this and
previous loosely tighten steps.

Related product manuals