EasyManua.ls Logo

Utax CLP 3521 - Page 138

Utax CLP 3521
187 pages
Print Icon
To Next Page IconTo Next Page
To Next Page IconTo Next Page
To Previous Page IconTo Previous Page
To Previous Page IconTo Previous Page
Loading...
2HL/2HM/2HN
2-1-3
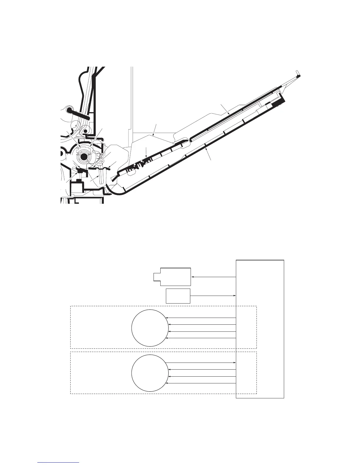
(2) MP tray paper feed section
The MP tray can contain about 150 pages. Feeding from the MP tray is performed by the rotation of the MP paper feed
roller. Also, function of the MPF separation pad prevents paper from multiple feeding.
Figure 2-1-3 MP tray paper feed section
Figure 2-1-4 MP tray paper feed section block diagram
4
5
8
10
9
11
2
3
7
6
1
(1) MP paper feed roller
(2) MPF separation pad
(3) MPF separator
(4) MPF bottom plate
(5) MPF friction pad
(6) MP tray sensor
(7) Actuator (MP tray sensor)
(8) MPF guide R/L
(9) MPF base
(10) MPF upper tray
(11) MPF cover
MPSOLDRN
MP paper
feed solenoid
Paper feed motor
Paper feed motor
Engine PWB
YC40-2
FEMOTRDYN
SPEEDSEL
FECLKCLK
YC3-1
YC3-2
YC3-3
REMOTREN
YC3-4
STFEAN
STFEB
YC4-1
YC4-2
YC4-3
STFEA
STFEBN
YC4-4
MP tray
sensor
MPHANDS
YC21-6
21/23 ppm (500-sheet) model
26/28 ppm (500-sheet) model
21/23 ppm (250-sheet) model

Other manuals for Utax CLP 3521

Related product manuals