EasyManua.ls Logo

Vaillant ecoMAX pro - 5 Boiler Location and Ventilation; Boiler Location; Clearances; Timber Frame Buildings

Vaillant ecoMAX pro
40 pages
Print Icon
To Next Page IconTo Next Page
To Next Page IconTo Next Page
To Previous Page IconTo Previous Page
To Previous Page IconTo Previous Page
Loading...
Instructions for Use, Installation and Servicing ecoMAX pro12
5.1 Boiler Location
NOTE:
This boiler is not suitable for outdoor
installation.
This boiler may be installed in any room,
although particular attention is drawn to the
installation of a boiler in a room containing a
bath or shower where reference must be made
to the relevant requirements.
This boiler is suitable for installation in
bathroom zones 2 and 3.
In GB this is the current I.E.E. WIRING REGULATIONS
and BUILDING REGULATIONS. In IE reference should
be made to the current edition of I.S.813 “Domestic Gas
Installations” and the current ETCI rules. The boiler must
be mounted on a flat wall, which is sufficiently robust to
take its total weight, see boiler specification page 9.
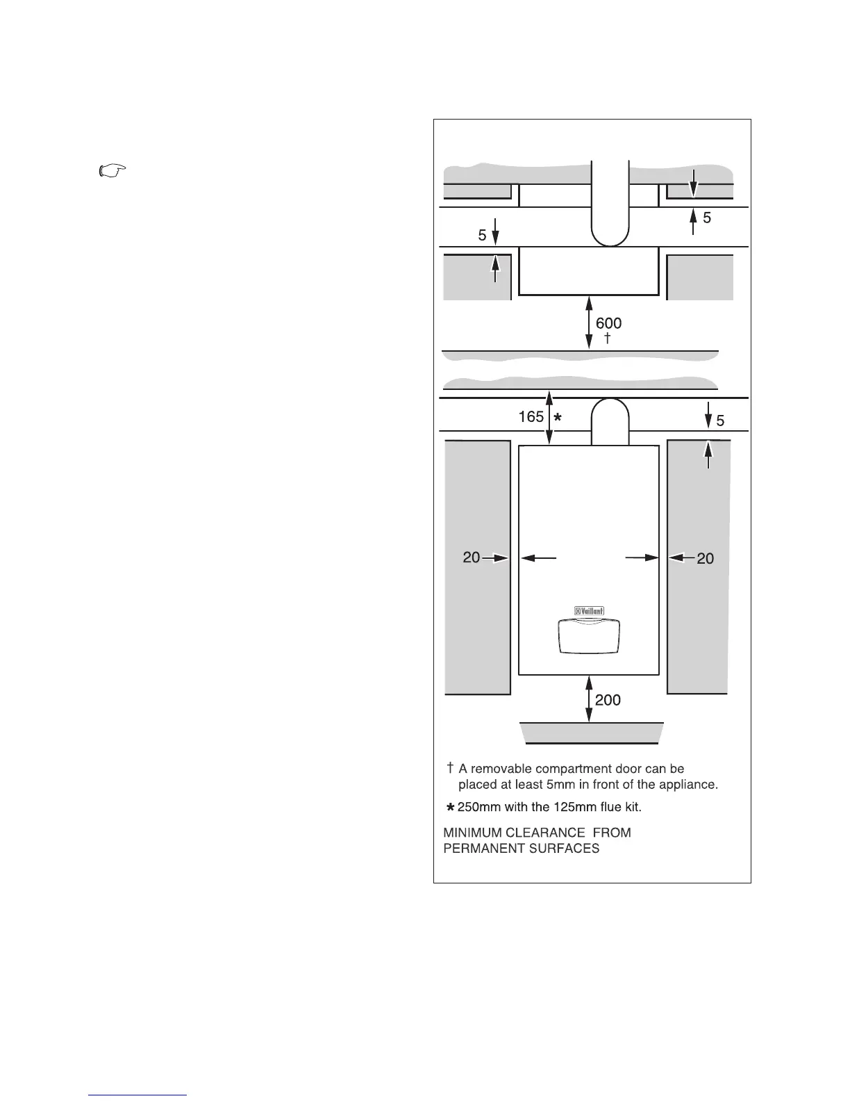
5.2 Clearances
The boiler should be positioned so that at least the
minimum operational and servicing clearances are
provided, see fig 5.1.
Additional clearances may be beneficial around the boiler
for installation and servicing.
For flue installations where external access is not
practicable, consideration should be given for the
space required to insert the flue internally, which may
necessitate clearance larger than those specified in fig
5.1.
5.3 Timber Frame Buildings
If the boiler is to be installed in a timber frame building it
should be fitted in accordance with the Institute of Gas
Engineers document IGE/UP/7/1998. If in doubt seek
advice from the local gas undertaking or Vaillant.
5.4 Room Ventilation
The boiler is room sealed, so when it is installed in a
room or space, a permanent air vent is not required.
5.5 Compartment Ventilation
Due to the high efficiency and hence low casing
temperature of this boiler, cupboard or compartment
ventilation is not necessary. Leave existing air vents.
5 Boiler location and ventilation
Fig 5.1
12629

Table of Contents

Related product manuals