EasyManua.ls Logo

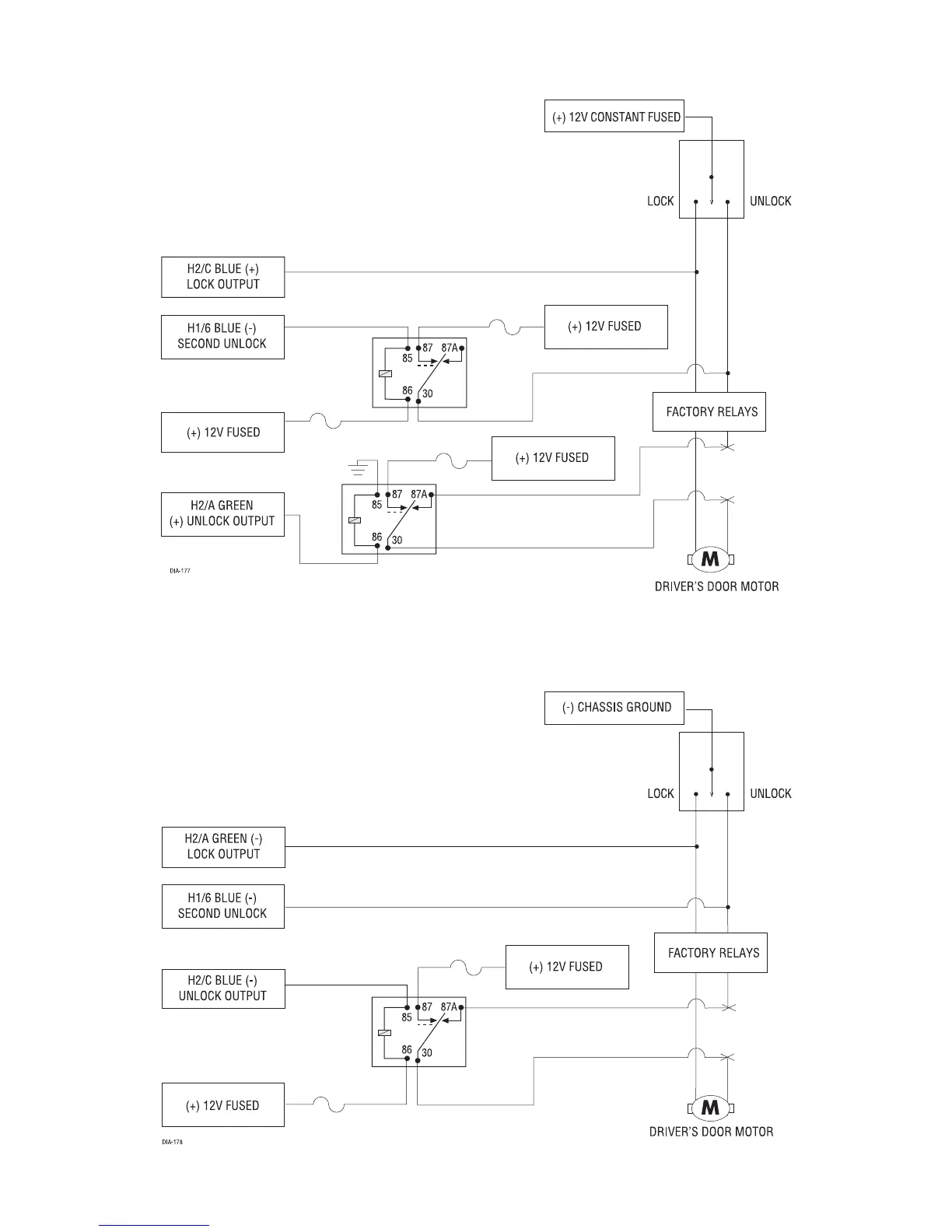
Valet 710T - Type A (+) polarity system door lock wiring; Type B (-) polarity system door lock wiring

Valet 710T
24 pages
Print Icon
To Next Page IconTo Next Page
To Next Page IconTo Next Page
To Previous Page IconTo Previous Page
To Previous Page IconTo Previous Page
Loading...
8 © 1999 Directed Electronics, Inc. Vista, CA
Type A (+) polarity system: Wire relays as shown.
Type B (-) polarity system: Connect the BLUE H1/6 wire to the unlock wire in the vehicle and wire the relay as shown.

Related product manuals