EasyManua.ls Logo

Vapotherm precision flow - Software Operating Modes Explained

Vapotherm precision flow
32 pages
Print Icon
To Next Page IconTo Next Page
To Next Page IconTo Next Page
To Previous Page IconTo Previous Page
To Previous Page IconTo Previous Page
Loading...
3001002 Rev. P Page 29
Appendix
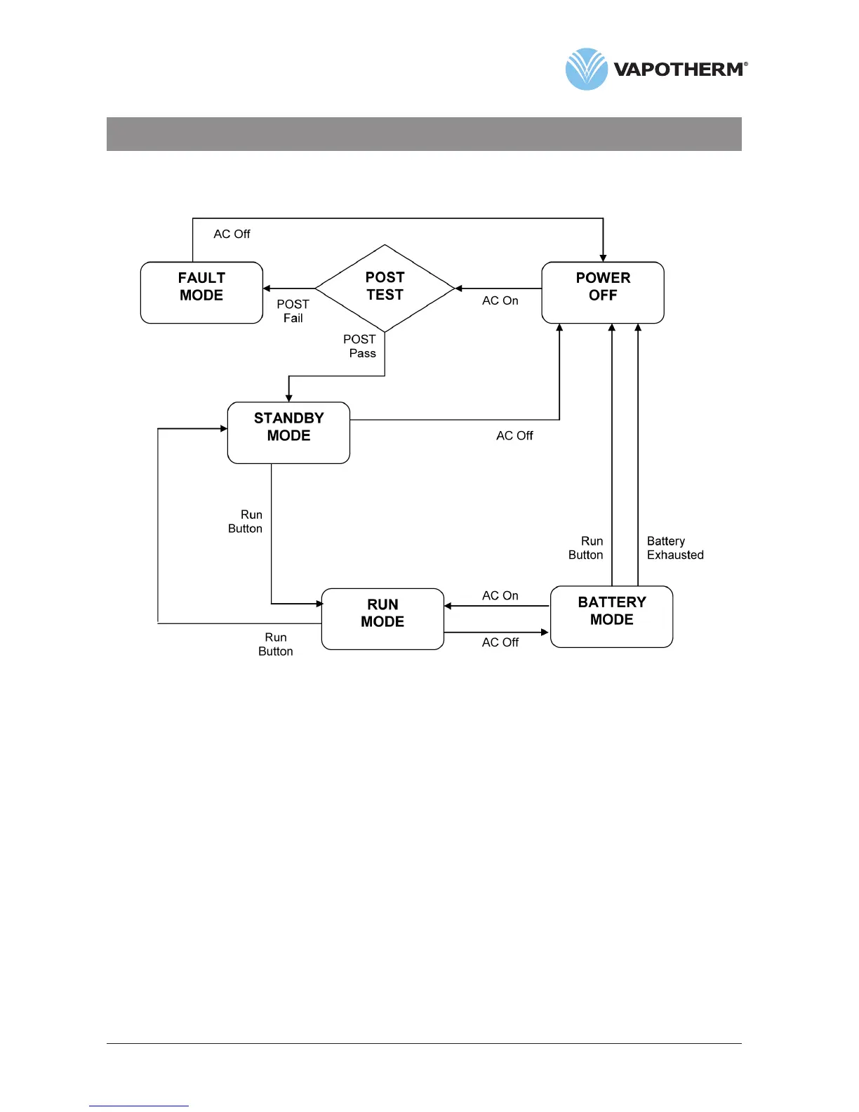
Software operating modes
The diagram illustrates the operating modes for the unit.
Immediately on connection to AC power a POST (Power-On Self Test) is run to verify
proper function of subsystems, sensors and actuators in the Precision Flow
®
.
On successfully completing the POST the unit enters STANDBY unless there is a test
failure, when the system alarms, enters FAULT mode and can not be started.
The Precision Flow
enters RUN mode from STANDBY when the RUN/STANDBY button
is pressed. Normal operation starts. The pump, heater and gas flow proportioning
systems start. Sensors and alarms are active and flow, temperature and oxygen % can
be set.
To return to STANDBY, the RUN/STANDBY button is pressed again.
If AC power is disconnected when the unit is in RUN mode it enters BATTERY mode. If
the battery is fully charged, gas mixing and metering continues for at least 15 minutes,
but water is not circulated or heated. When the battery is discharged the unit enters the
POWER OFF mode.
If AC power is disconnected in STANDBY, the unit enters POWER OFF mode.

Other manuals for Vapotherm precision flow

Related product manuals