EasyManua.ls Logo

VDO BVDR - Funcionalidades Principales del Menú; Añade Código del Conductor; Eliminar Código del Conductor; Pendrive VDO

VDO BVDR
Print Icon
To Next Page IconTo Next Page
To Next Page IconTo Next Page
To Previous Page IconTo Previous Page
To Previous Page IconTo Previous Page
Loading...
Edición 10/2019 © Continental Automotive 55
2.4 Funcionalidades principales del menú
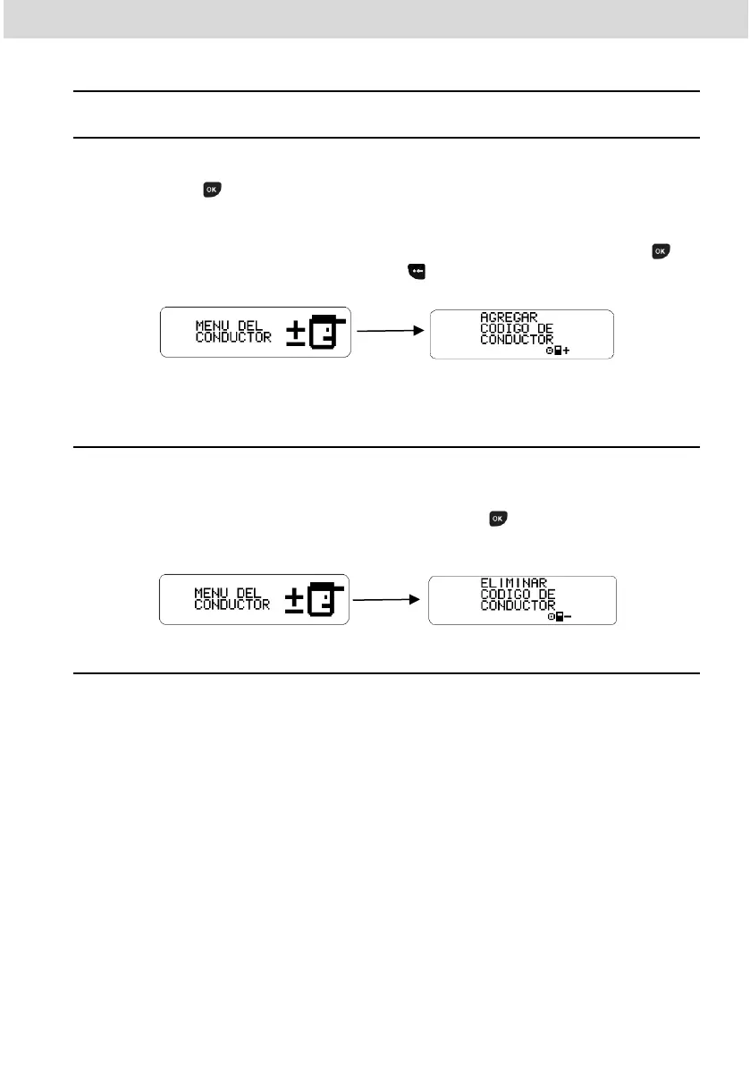
2.4.1 Añade código del conductor
En el menú del conductor, seleccione la opción "registrar código del conductor"
y pulse el botón . Después de eso, aparecerá la pantalla donde usted insertar
el código que desea y después insertar el código de la habilitación del
conductor. Después de insertar el código de la habilitación del conductor
aparecerá una pantalla de confirmación. Para confirmar, pulse el botón . Si
desea cancelar el registro, pulse el botón .
Este menú no estará disponible si hay un controlador conectado.
2.4.2 Eliminar código del conductor
Para quitar el código del conductor, basta con ir en el menú de conductor y
seleccionar la opción de “eliminar código de conductor. Seleccione el
conductor que desea quitar y confirme presionando . Recordando que esta
función eliminará al conductor de la lista del BVDR.
2.4.3 Pendrive VDO
El pendrive VDO, es un Pendrive propio de Continental y que puede ser
configurado como:
- Pendrive VDO Conductor, o
- Pendrive VDO Empresa.
La información del conductor o de la Compañía se carga en el Pendrive VDO
a través del software de gestión de flota en la plataforma VDO On Board.
Puede ser cargado en el Pendrive VDO del Conductor: datos de identificación
y datos de la licencia del conductor, datos de configuración del BVDR.

Table of Contents

Other manuals for VDO BVDR

Related product manuals