EasyManua.ls Logo

VEVOR SC-3 - Temperature Adjustment Switches; Slush and Juice Mode Operation

VEVOR SC-3
11 pages
Print Icon
To Next Page IconTo Next Page
To Next Page IconTo Next Page
To Previous Page IconTo Previous Page
To Previous Page IconTo Previous Page
Loading...
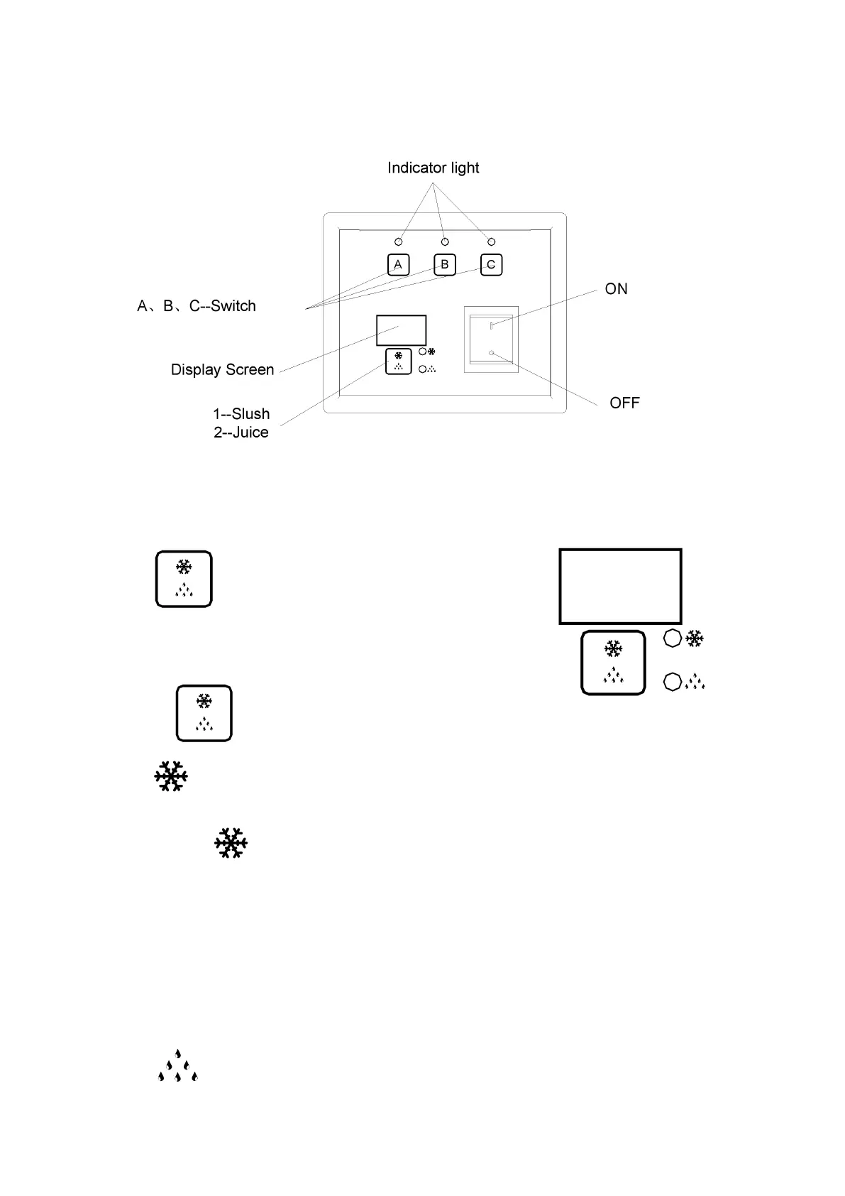
5
O position- OFF: in the “O” position power is turned OFF to all functions
2. A,B,C switches will be used during operation, you can adjust the temperature of
the juice. The temperature is 3
,5
, 9
, 11
.It is factory set at 9
.
3 Refrigeration switch
Operation:
a. Set the power switch to ON position
b. Set the Refrigeration switch as follows:
Press :
1) Light ON : Slush mode, slushed ice will be produced.
When the light is ON ,the machine will start working ,there is a 6 second
countdown. The magnetic valve will now be open. A 300 second countdown will start
now. After 300 seconds, the compressor will start to refrigerate and will automatically
stop when the slush is ready. The fan motor and beater will continue to work .
ATTENTION
To obtain the best performance of slush ice, make sure the sugar content is over
13% or the contents will freeze up and cause damage to the machine.
2) Light ON: Juice mode, only produce cold beverage

Related product manuals