EasyManua.ls Logo

Viessmann Vitorond 100 - Electrical Connections (Aquastat Control)

Viessmann Vitorond 100
76 pages
Print Icon
To Next Page IconTo Next Page
To Next Page IconTo Next Page
To Previous Page IconTo Previous Page
To Previous Page IconTo Previous Page
Loading...
Burner
Fig. 45
47
Burner Set-up (Riello)
Electrical connections (with Aquastat control)
Installations must follow these codes
and requirements:
- National Electrical Code, ANSI/NFPA
70, latest edition and any additional
national, state or local codes.
- In Canada, CSA C22.1 Canadian
Electrical Code Part 1 and any local
codes.
- Wiring must be N.E.C. Class 1. If
original wire as supplied with boiler
must be replaced, type 105°C wire or
equivalent must be used. Supply
wiring to boiler and additional control
wiring must be 14 ga. or heavier.
- Provide electrical ground at boiler as
required by codes.
" All field supplied nominal 120 VAC voltage wiring must be sheathed in a flexible metal conduit.
" Disconnect means, overload protection and low water cut-off must be provided as required by local codes.
" Connect incoming line voltage HOT (L1) wire to terminal L1, and N to terminal L2 of the Honeywell high limit control (see
wiring diagram on page 49.
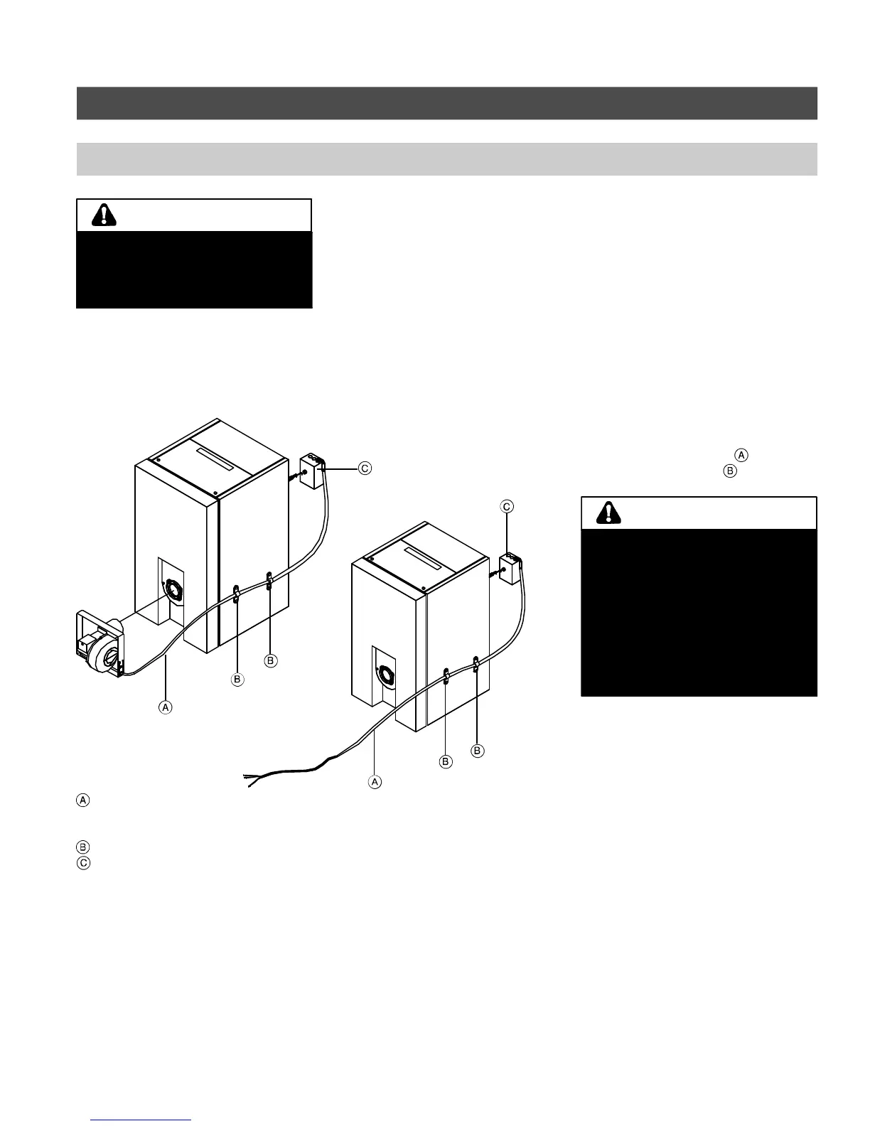
Legend
Burner and control harness, (see
wiring diagram on pages 48
and 49)
Cable strap (supplied)
Honeywell high limit control
Burner wiring
1. Secure control harness
using 2
supplied cable straps .
Room thermostat wiring
1. Install thermostat on inside wall
away from influences of drafts, hot
or cold water pipes, lighting fixtures,
television, sun rays or fireplaces.
2. Follow instructions supplied with
room thermostat. If it has a heat
anticipator, set heat anticipator in
thermostat to match power
requirements of equipment connected
to it. Boiler wiring diagrams give
setting for standard equipment.
5671 044 v1.0
Electric shock hazard. Can cause
severe personal injury or loss of life if
power source, including service
switch on boiler, is not disconnected
before installing or servicing.
WARNING
Ensure that burner wiring harness is
properly attached and secured to the
boiler side panel using the supplied
cable straps as depicted above. The
cable strap must be coiled on the
boiler side panel so that no slack is
left, allowing the burner/boiler door to
be swung open without disconnecting
the burner wiring harness from the
burner. Failure to heed this warning
may result in personal injury.
WARNING

Table of Contents

Other manuals for Viessmann Vitorond 100

Related product manuals