EasyManua.ls Logo

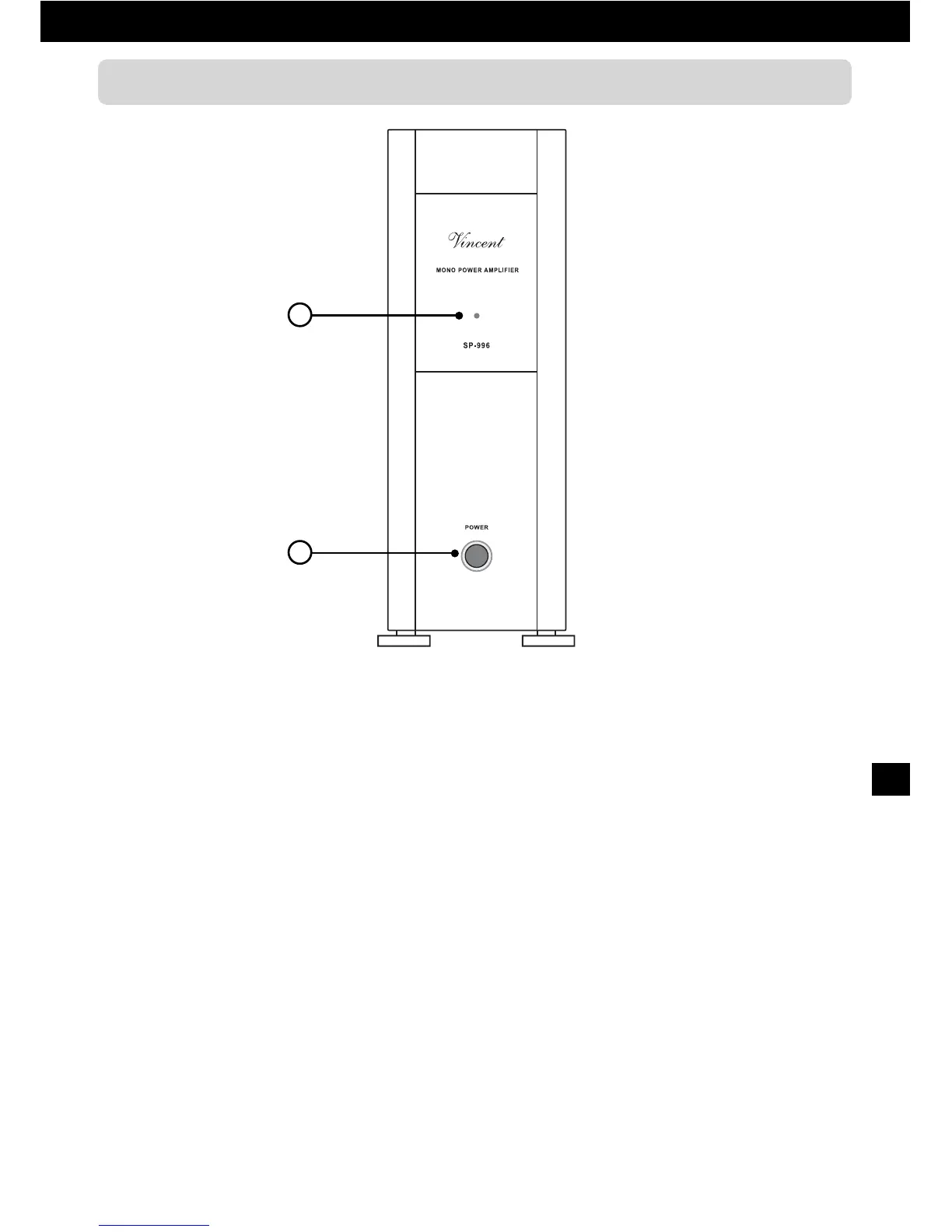
VINCENT SP-996 - Front View Overview; Power On;Off Switch; Power Indicator LED

VINCENT SP-996
Print Icon
To Next Page IconTo Next Page
To Next Page IconTo Next Page
To Previous Page IconTo Previous Page
To Previous Page IconTo Previous Page
Loading...
Vincent
23
1. POWER: on/off switch
This button turns the unit on and back into stand-
by mode. If none of the POWER CONTROL
sockets (6) is in use you can activate and deacti-
vate an automatic-shutoff function using the switch
“AUTO” (5). If a “POWER CONTROL” cable is
connected the on/off signal via Power Control
Cable determines if the main amplifier is switched
on or in standby mode and the “POWER” button
is inoperable.
FRONT VIEW
2
1
2. POWER indicator LED
This LED is lit as long as the device is active (swit-
ched on or activated via “POWER CONTROL”).

Related product manuals