EasyManua.ls Logo

Viper 350 Plus - H1;4 BLACK;WHITE - Domelight Supervision Output; H1;5 GREEN - Door Trigger Input

Viper 350 Plus
40 pages
Print Icon
To Next Page IconTo Next Page
To Next Page IconTo Next Page
To Previous Page IconTo Previous Page
To Previous Page IconTo Previous Page
Loading...
© 2008 Directed Electronics- All rights reserved.
7
IMPORTANT! Never use this wire to drive anything but a
relay or a low-current input! This transistorized output can
only supply 200 mA, and connecting directly to a solenoid,
motor, or other high-current device will cause the module to
fail.
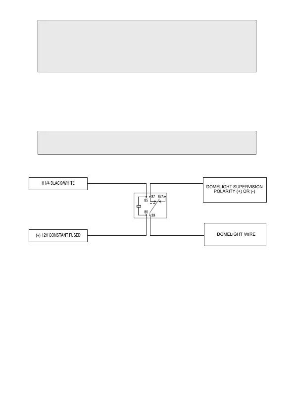
H1/4 BLACK/WHITE (-) 200 mA domelight supervision output
Connect the H1/4 wire to the optional domelight supervision relay as shown
in the following diagram:
IMPORTANT! This output is only intended to drive a relay. It cannot be connected
directly to the domelight circuit, as the output cannot support the current draw of one
or more bulbs.
H1/5 GREEN (-) door trigger input
Most vehicles use negative door trigger circuits. Connect the green wire to a
wire showing ground when any door is opened. When connecting to newer
model vehicles there is generally a need to use individual door triggers. See
DirectFax document 1076 for wiring instructions. This wire will report Zone
3.
NOTE: If using a door trigger wire that has a delay, Advanced Menu 2, feature
6 or the 998T Bitwriter can be used to turn Bypass Notification off.

Related product manuals