EasyManua.ls Logo

Vivotek IP8130 - Physical Description

Vivotek IP8130
196 pages
Print Icon
To Next Page IconTo Next Page
To Next Page IconTo Next Page
To Previous Page IconTo Previous Page
To Previous Page IconTo Previous Page
Loading...
VIVOTEK
6 - User's Manual
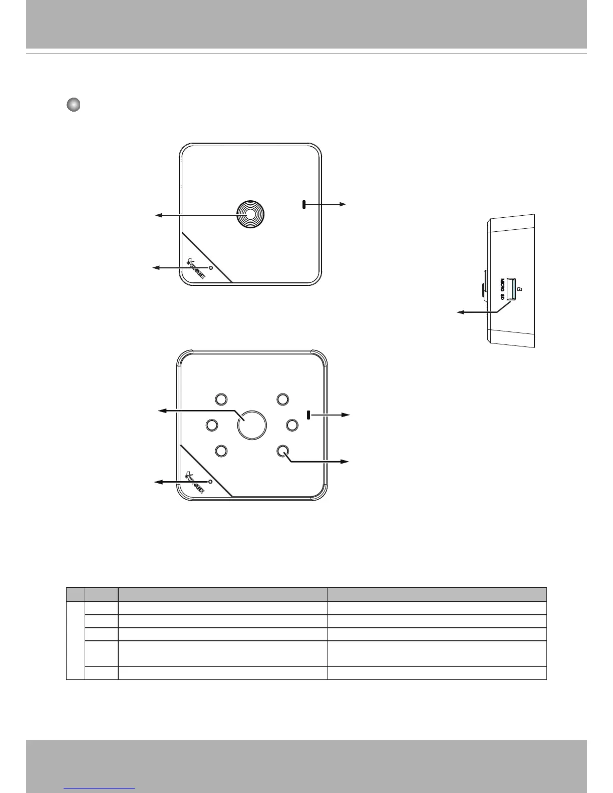
Physical Description
Front Panel
Item LED status Description
LED
1 Steady Red Powered and system booting, or network failed
Red LED off Power off
2 Green LED blinks every 1 sec� Connected to network
3 Green, RED, and Orange blink consecutively
every 0�15 sec�
Upgrading rmware
5 Orange blinks every 0�15 sec� Restoring defaults
Status LED
Lens
Microphone
IP8130
IP8131
Microphone
IR LEDs
Status LED
MicroSD/SDHC/SDXC
Card Slot
Lens

Table of Contents

Other manuals for Vivotek IP8130

Related product manuals