EasyManua.ls Logo

ViziT KTM600F - Installation

Default Icon
11 pages
Print Icon
To Next Page IconTo Next Page
To Next Page IconTo Next Page
To Previous Page IconTo Previous Page
To Previous Page IconTo Previous Page
Loading...
INSTALLATION
For qualified installation, wiring and servicing refer to technical and commercial partners of VIZIT TM. The list of
companies is given on VIZIT.EU ( .http://vizit.eu/eurounion/)
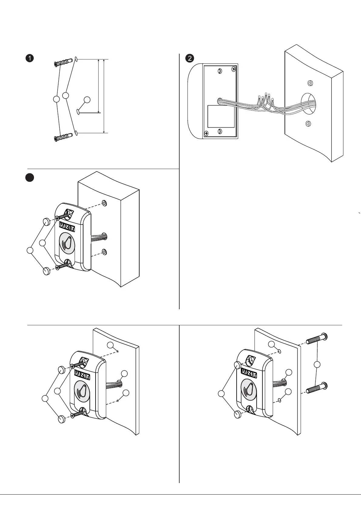
Reader RD-4F is mounted either on a wall, or on a fixed door leaf
Reader RD-4F mounting on a fixed door leaf ( )two methods
- Drill 2 holes (1) with diameter 5.5 mm
- Drill a hole for wires (2) with diameter 5 mm
Attach the Reader RD-4F to the and
fasten two screws ( ) .
screw on
- Drive in gags
.
-
М5 3
The length is chosen the condition:
door leaf thickness plus 5 mm.
(4).
fixed door leaf
()not supplied
49 mm
- Drill 2 holes (1) with diameter 6 mm and depth 40 mm.
- Drive anchors (2) into the holes.
- Drill a hole for wires ( ) with diameter 5 mm3.
60 mm
3
1
2
3
4
2
1
1
1
1
3
4
2
-
х0 ()
().
Attach the Reader RD-4F to the wall and
fasten two screws 4 4 4 in the anchors.
- Drive in gags 5
Note. Anchors and screws are supplied.
4
5
Reader RD-4F mounting on a wall
3
- Drill 2 holes (1) with diameter 3 mm
- Drill a hole for wires (2) with diameter 5 mm
Attach the Reader RD-4F to the and
fasten two screws 3.5x13 ( ) .
- Drive in gags
.
-
3
(4).
fixed door leaf
()not supplied
www. 5VIZIT-KTM600F Operating Instruction (revision 10)vizit-group.com 7 11/201 -
- Strip the ends of connecting wires that
will go to the Control Unit KTM600M, and
solder the ends to the Reader’s wires
following the diagrams given in the
section .
Put tightly over each soldered
connection a PVC tube or a heat-shrink
tube around 10 mm long (3).
PVC tubes and heat shrink tubes are
not supplied
-
EXAMPLES OF WIRING DIAGRAMS

Related product manuals