EasyManua.ls Logo

Wacker Neuson DPU 6555He - Page 25

Wacker Neuson DPU 6555He
60 pages
Print Icon
To Next Page IconTo Next Page
To Next Page IconTo Next Page
To Previous Page IconTo Previous Page
To Previous Page IconTo Previous Page
Loading...
Transport to work site /Recommendations on compaction
T01002GB.fm 25
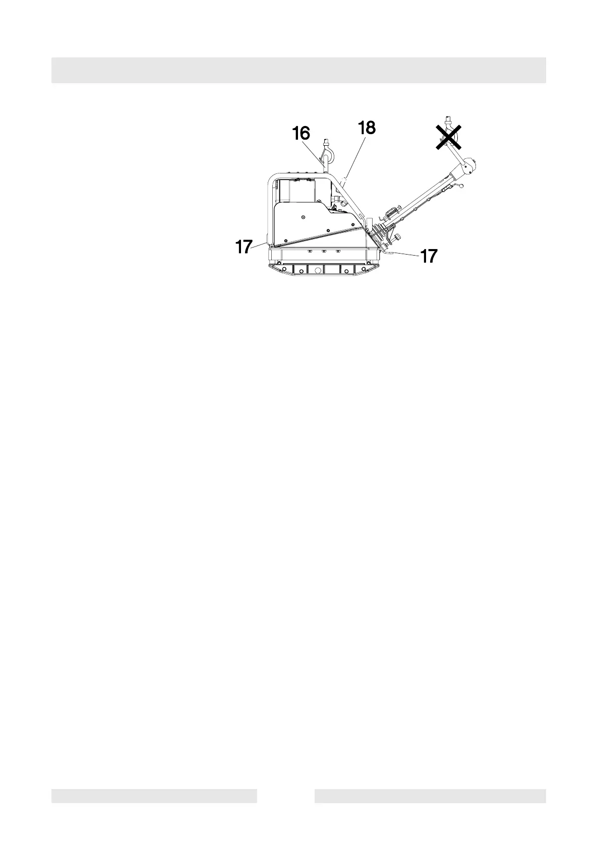
Only attach suitable tackle at the central lifting point (16) provided. The
central lifting point is located exactly above the centre of gravity of the
machine. The central lifting point can be displaced rearwards (18),
given an application in which the height of the machine is of
importance (torque wrench setting = 85 Nm).
During transport on the loading area of a vehicle, tie down the vibration
plate using the lugs (17).

Related product manuals