EasyManua.ls Logo

WarmFlow 50/70 - Control Panel Wiring (Goldbird Boilers)

Default Icon
52 pages
Print Icon
To Next Page IconTo Next Page
To Next Page IconTo Next Page
To Previous Page IconTo Previous Page
To Previous Page IconTo Previous Page
Loading...
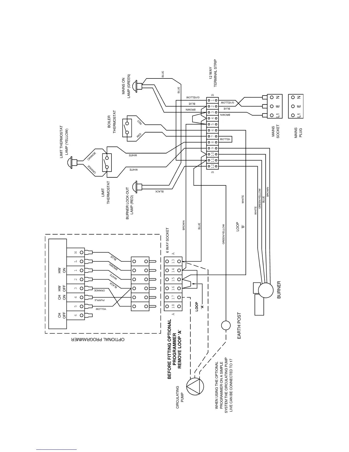
5.3 Control Panel Wiring (Goldbird Boilers)
Page 15

Table of Contents

Other manuals for WarmFlow 50/70

Related product manuals