EasyManua.ls Logo

Warn CJ - CJ Tailgate Bumper Installation

Warn CJ
39 pages
Print Icon
To Next Page IconTo Next Page
To Next Page IconTo Next Page
To Previous Page IconTo Previous Page
To Previous Page IconTo Previous Page
Loading...
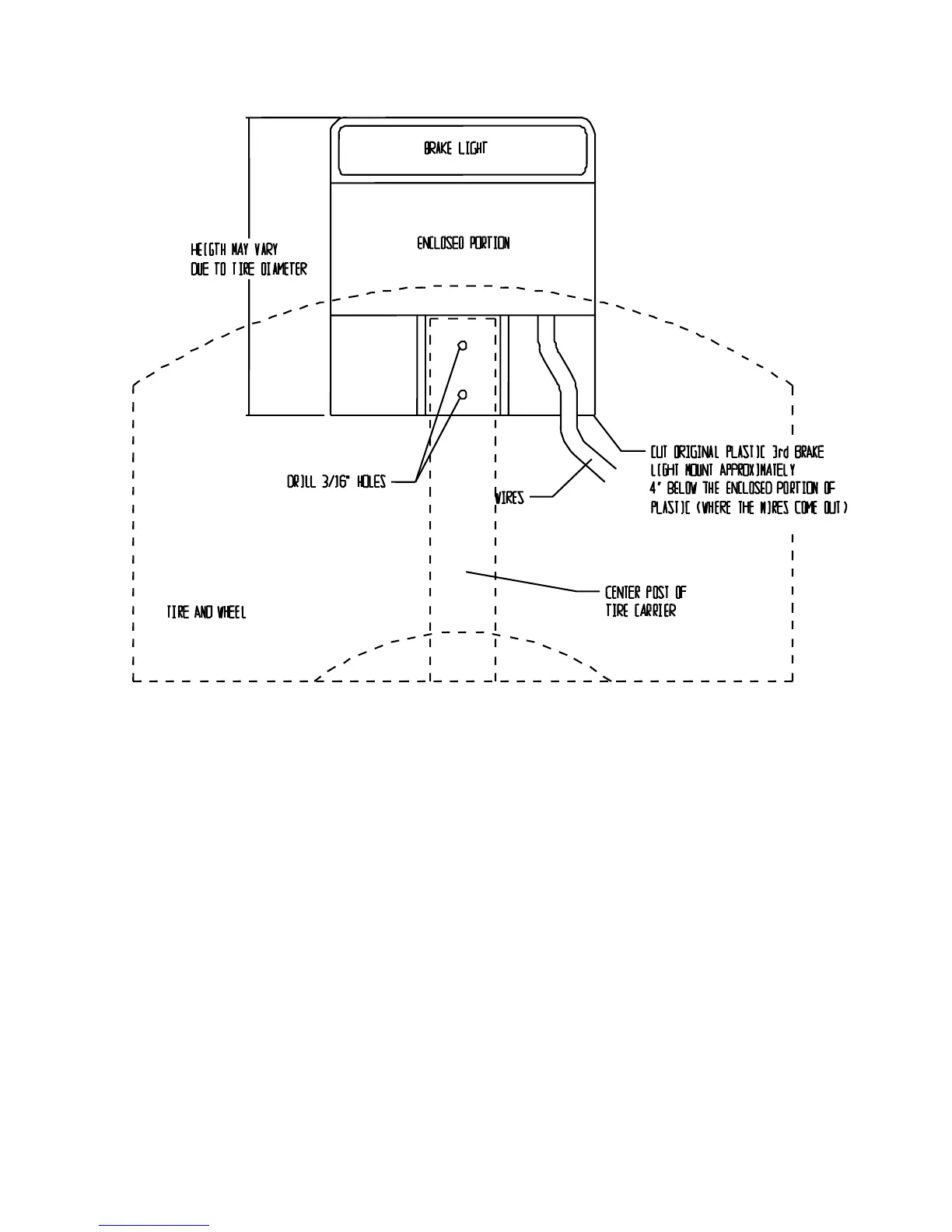
Page 12 63398 D2
Figure 10, 3
rd
BRAKE LIGHT MOUNTING
23. On CJ vehicles it is required to install a rubber tailgate bumper. The Chrysler/Jeep
P/N is 55013350 and is available at Jeep Dealer Parts Departments. A picture is
included for reference. Depending on the alignment of the body to frame on your
specific vehicle, it may be necessary to shim the rubber bumper out from the tailgate
or sand it down, more than likely it will be sanded down.
NOTE: Very slight pressure should be on the rubber bumper when the tire
carrier is in the closed position. Due to vehicles being vastly different and
very old, be sure that the tire carrier is vertical when it is in the closed position
and there is slight pressure on the tailgate bumper. This may require that
more pressure be added to the tailgate bumper to get a vertical reading in the
closed position. This will verify that the carrier will not rattle on the tailgate
hinges.
With the tire carrier in the closed position, try to slide the rubber bumper in between
the tailgate and welded tab on the tire carrier. In the photo below the bottom edge of
the rubber bumper has been sanded off at a 45-degree angle to allow the rubber

Related product manuals