EasyManua.ls Logo

Wega ALE Series - Drilling the Support Base

Wega ALE Series
68 pages
Print Icon
To Next Page IconTo Next Page
To Next Page IconTo Next Page
To Previous Page IconTo Previous Page
To Previous Page IconTo Previous Page
Loading...
22 of 68
TECHNICIANS manual
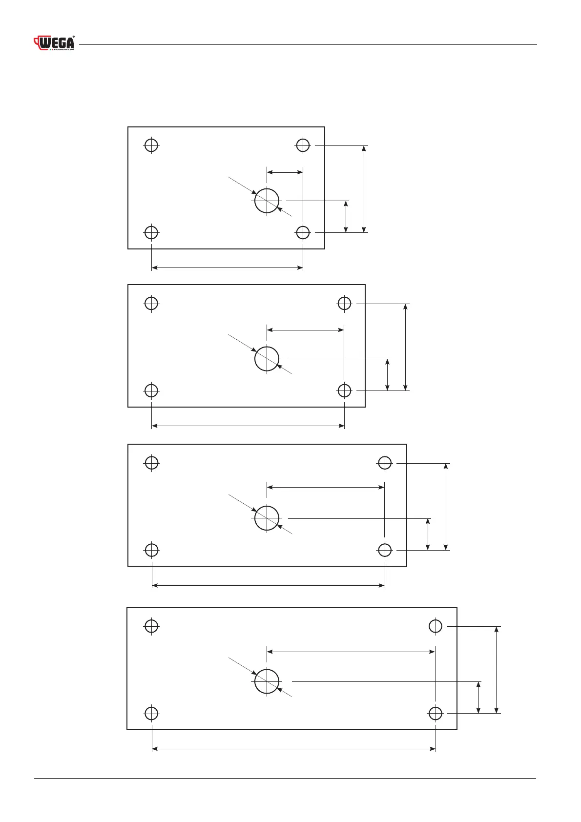
5.6 Drilling the support base
In the case where it is necessary to drill holes on the support bench for passing the water inlet and outlet hoses,
as well as the electrical and gas supply cables, follow the directions in the drawings below.
1 GROUP
326 mm
160 mm
Front of the machine
200 mm
382 mm
100 mm
4 GROUPS
400 mm
1016 mm
Front of the machine
382 mm
200 mm
100 mm
3 GROUPS
300 mm
776 mm
Front of the machine
382 mm
200 mm
100 mm
2 GROUPS
200 mm
536 mm
Front of the machine
382 mm
200 mm
100 mm

Table of Contents

Related product manuals