EasyManua.ls Logo

Weider Pro 4900 Weight Exerciser - Page 39

Weider Pro 4900 Weight Exerciser
40 pages
Print Icon
To Next Page IconTo Next Page
To Next Page IconTo Next Page
To Previous Page IconTo Previous Page
To Previous Page IconTo Previous Page
Loading...
45
3
26
109
109
132
132
26
109
132
132
26
26
77
41
125
77
48
39
39
77
77
40
49
68
7
77
77
77
77
77
77
77
124
39
39
39
71
54
24
24
25
15
70
128
129
68
128
129
1
123
66
34
35
34
35
65
65
65
1
9
4
94
117
117
1
14
116
115
115
114
111
116
9
9
99
115
115
117
117
94
114
1
15
94
115
137
111
116
116
114
116
116
114
111
82
116
116
82
136
114
116
48
111
82
116
116
82
109
132
109
132
109
132
109
132
116
130
116
114
116
114
66
116
130
109
111
116
39
116
114
8
36
5
127
1
35
135
135
116
115
117
44
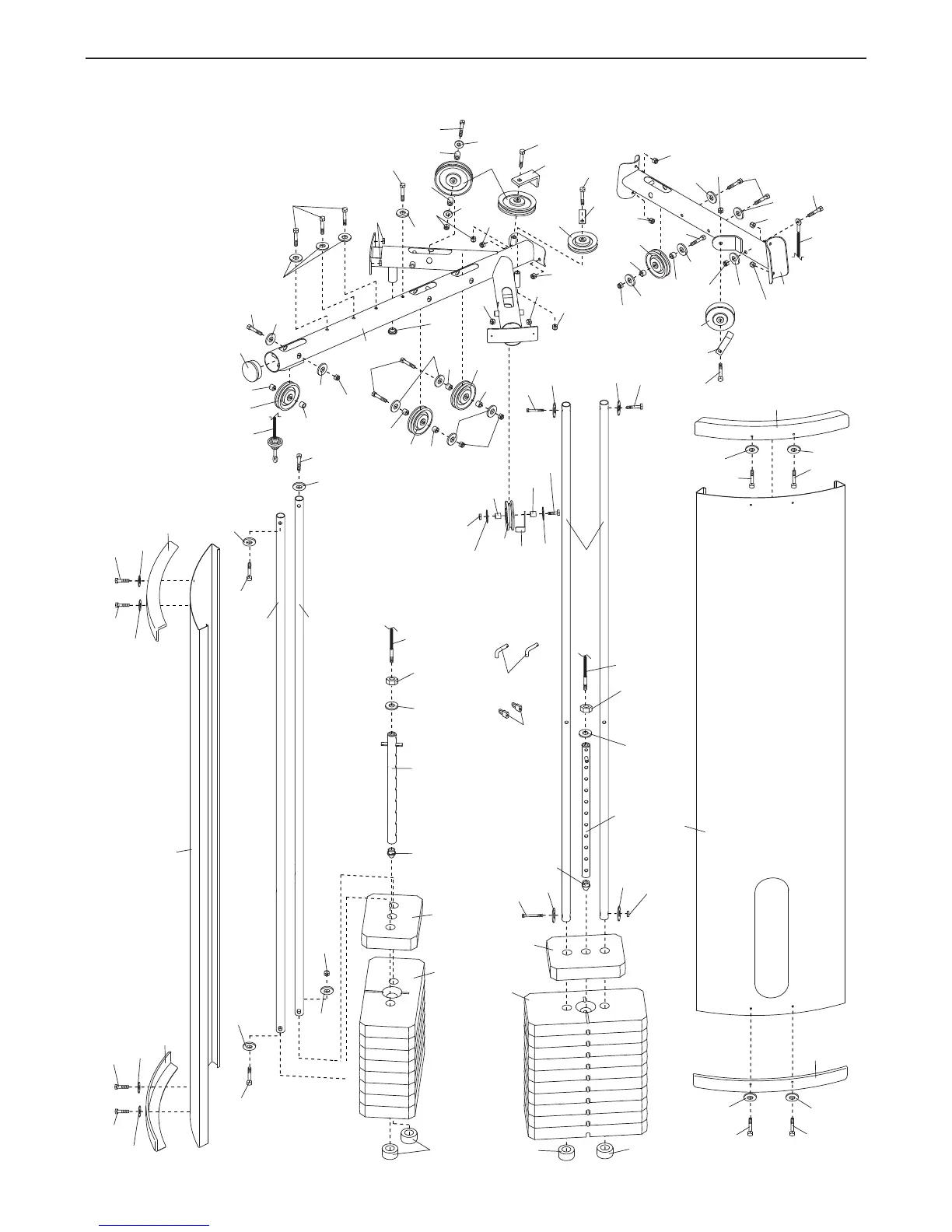
EXPLODED DRAWING D—Model No. 831.15403.2 R0805A

Related product manuals