EasyManua.ls Logo

WeiderPro Pro 420 Bench - WEIGHT BENCH ADJUSTMENTS; How to Adjust the Backrest; Attach Flexion Pad; Flexion Pad Storage Warning

WeiderPro Pro 420 Bench
20 pages
Print Icon
To Next Page IconTo Next Page
To Next Page IconTo Next Page
To Previous Page IconTo Previous Page
To Previous Page IconTo Previous Page
Loading...
11
La panca pesi è stata progettata per essere usata con il vostro set di pesi (non inclusi). Le fasi sottostanti spiega-
no come la panca pesi può essere regolata. Vedere GUIDA AGLI ESERCIZI a pagina 14 per importanti informa-
zioni e fare riferimento all'allegato guida d’allenamento per vedere la corretta forma di ciascun esercizio. Far rife-
rimento inoltre alle informazioni sugli esercizi che accompagnano il vostro set pesi per ulteriori esercizi.
Ogni volta che si usa la panca pesi assicurarsi che tutte le parti siano strette appropriatamente. Sostituire imme-
diatamente le parti logorate consumate. Per pulire la panca pesi, utilizzare un panno umido e un detergente
dolce e non abrasivo. Non utilizzare solventi.
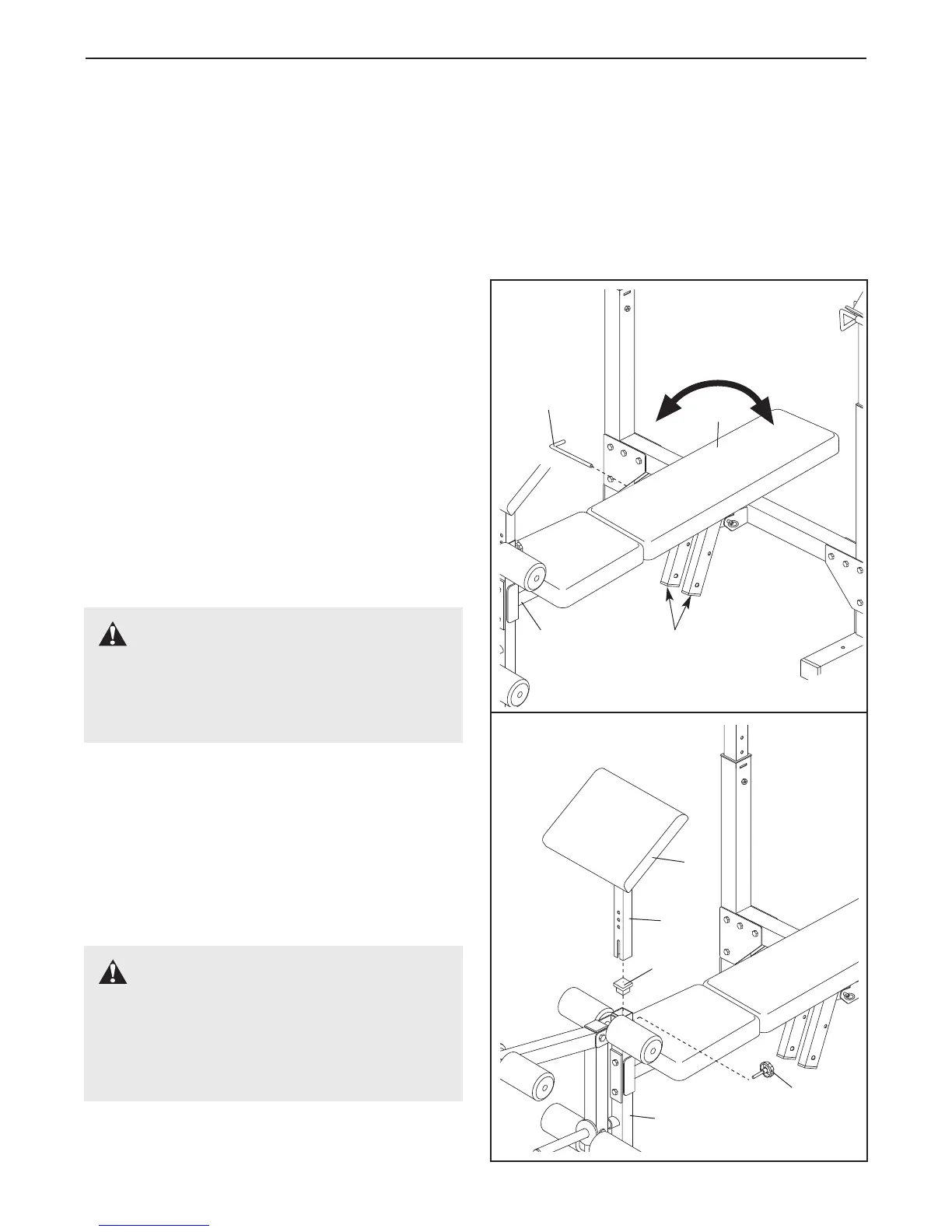
COME REGOLARE LO SCHIENALE
Lo Schienale (6) puó essere utilizzato in posizione
declinata, in posizione piatta o in due posizioni incli-
nate. Per utilizzare lo Schienale in posizione declina-
ta, rimuovere il Perno di Regolazione (32) e sdraiare
lo Schienale sulla Manopola di Regolazione da M10 x
57mm (non mostrato).
Per utilizzare lo Schienale (6) in posizione piatta, sol-
levare lo Schienale e inserire il Perno di Regolazione
(32) attraverso la serie superiore di fori sui tubi di
regolazione e il Telaio Panca (2).
Per utilizzare lo Schienale (6) in posizione inclinata,
sollevare lo Schienale e inserire il Perno di
Regolazione (32) attraverso una delle due serie di fori
inferiore sui tubi di regolazione e il Telaio Panca (2).
COME ATTACCARE IL CUSCINETTO FLESSIONE
Per altri esercizi, la Cuscinetto Flessione (27) deve
essere attaccata alla panca pesi. Rimuovere il
Cappuccio Interno Quadrato da 50mm (40) dalla
Gamba Anteriore (8). Inserire la Albero Flessione (26)
nella Gamba Anteriore. Avvitare la Manopola di
Regolazione da M10 x 57mm (33) nella Gamba
Anteriore e nel Albero Flessione.
6
Tubi di
Regolazione
32
2
AVVERTENZA: Quando utilizza-
te lo Schienale (6) in posizione inclinata, assi-
curarsi che il Perno di Regolazione (32) sia
inserito completamente attraverso entrambi i
tubi di regolazione e il Telaio Panca (2).
AVVERTENZA: Quando il
Cuscinetto Flessioni (27) non sono in uso, ripo-
sizionare in Cappuccio Interno Quadrato da
50mm (40. Immagazzinare il Cuscinetto
Flessioni lontano dalla panca in modo che non
interferiscano con gli altri esercizi.
REGOLAZIONI DELLA PANCA PESI
27
26
40
33
8

Other manuals for WeiderPro Pro 420 Bench

Related product manuals