EasyManua.ls Logo

Wersi CD 600 - Audio Block Diagram

Default Icon
98 pages
Print Icon
To Next Page IconTo Next Page
To Next Page IconTo Next Page
To Previous Page IconTo Previous Page
To Previous Page IconTo Previous Page
Loading...
AM 320-01-808
9
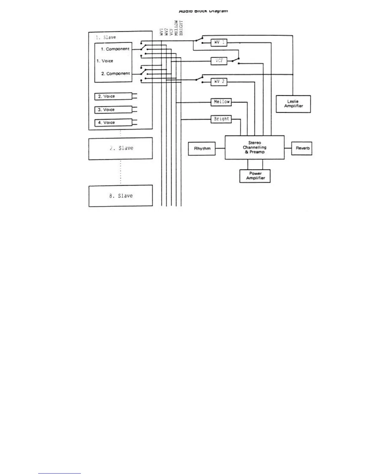
3. Audio Block Diagram
The audio signals from the slaves are routed to one
of five audio channels where they are refined
and processed differently:
a)the Bright slave signal reaches the amplifier with-
out any modification.
b) the Mellow slave signal is routed to the
amplifier via a low-pass filter.
c) the WV1 slave signal is assigned to Wersivoice
1.
d) the WV2 slave signal is assigned to
Wersivoice 2.
e)VCF - further processing of the signal for VCF
effects.
The effect channels WV1, WV2 and VCF can be
individually assigned to the left or right audio
channel; the mellow/bright channels, however, are
permanently routed to Left or Right.

Related product manuals