EasyManua.ls Logo

Wiedenmann Super 600 - 7.3. Start-up

Wiedenmann Super 600
73 pages
Print Icon
To Next Page IconTo Next Page
To Next Page IconTo Next Page
To Previous Page IconTo Previous Page
To Previous Page IconTo Previous Page
Loading...
All information, illustrations and specifications in this manual are based on the latest information
available at the time of publication. We reserve the right to make changes at any time without notice.
40
7.0. Operation
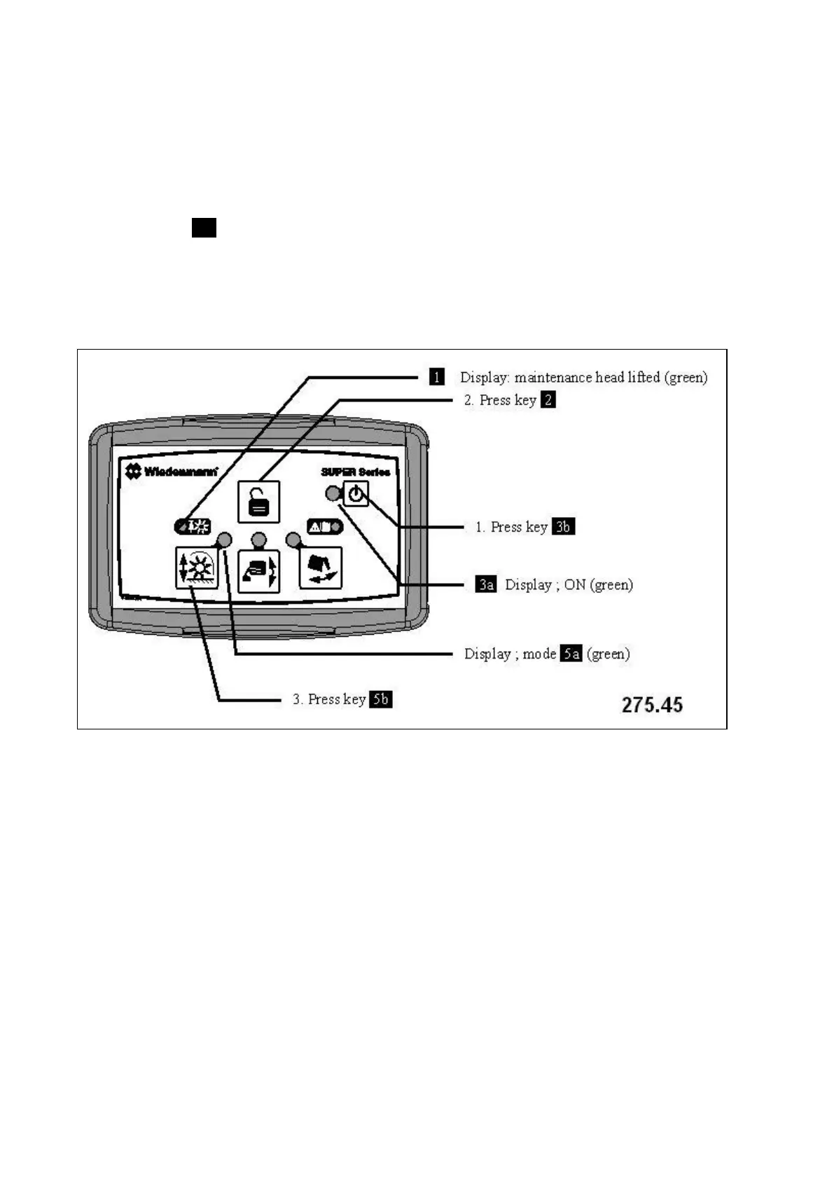
7.3. Start-up
Observe the following sequence during
start-up:
Drive onto the surface that is to be
treated.
Press key 3b to switch on the control
panel.
Lower the multi-maintenance head onto
the jockey wheels or the front roller in
mode 5.
IMPORTANT !
Move tractor hydraulic control lever to
float position.
Switch the P.T.O. drive on and slowly
set to the prescribed speed.
Start driving.

Table of Contents

Related product manuals