EasyManua.ls Logo

Wolfson WM8804 - Page 46

Default Icon
66 pages
Print Icon
To Next Page IconTo Next Page
To Next Page IconTo Next Page
To Previous Page IconTo Previous Page
To Previous Page IconTo Previous Page
Loading...
WM8804 Production Data
w
PD Rev 4.1 September 2007
46
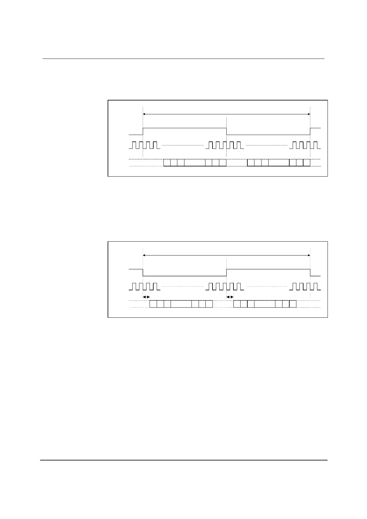
RIGHT JUSTIFIED MODE
In Right Justified Mode, the LSB of DIN is sampled by the WM8804 on the rising edge of BCLK
preceding an LRCLK transition. The LSB of the output data (DOUT) changes on the falling edge of
BCLK preceding an LRCLK transition, and may be sampled on the next rising edge of BCLK. LRCLK
is high during the left samples and low during the right samples (Figure 19).
LEFT CHANNEL RIGHT CHANNEL
LRCLK
BCLK
DIN / DOUT
1/fs
n321
n-2 n-1
LSBMSB
n 3 21
n-2
n-1
LSBMSB
Figure 19 Right Justified Mode
I
2
S MODE
In I
2
S Mode, the MSB of DIN is sampled by the WM8804 on the second rising edge of BCLK
following an LRCLK transition. The MSB of the output data changes on the first falling edge of BCLK
following an LRCLK transition, and may be sampled on the next rising edge of BCLK. LRCLK is low
during the left samples and high during the right samples (Figure 20).
LEFT CHANNEL RIGHT CHANNEL
LRCLK
BCLK
DIN / DOUT
1/fs
n321
n-2 n-1
LSB
MSB
n 321
n-2
n-1
LSB
MSB
1 BCLK
1 BCLK
Figure 20 I
2
S Mode