EasyManua.ls Logo

Worcester GB162-65

Worcester GB162-65
96 pages
To Next Page IconTo Next Page
To Next Page IconTo Next Page
To Previous Page IconTo Previous Page
To Previous Page IconTo Previous Page
Loading...
INSTALLATION
6 720 648 726 (2011/07)
29
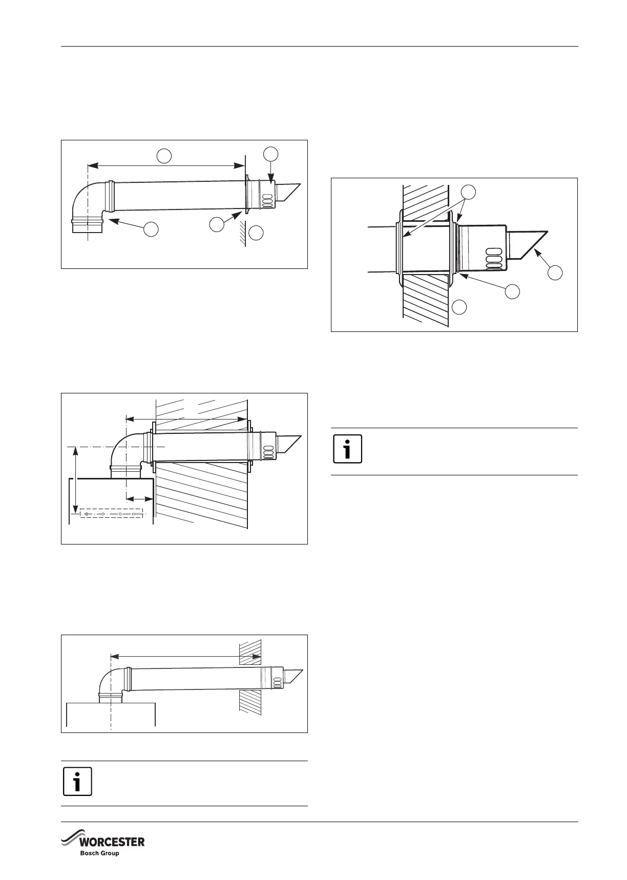
8.3.6 INSTALLATION OF THE HORIZONTAL FLUE
The standard flue is suitable for lengths up to 660 mm
(Æ fig. 32). For longer flue runs up to 29.0 m for flue
system 100/150 and 7.3 m for flue system 80/125, flue
extensions are available (accessory).
Fig. 32 Installation with horizontal flue gas terminal
1 maximum length
2 terminal assembly
3 90° bend
4 finishing kit
5 outer wall
8.3.7 FLUE PIPE PREPARATION AND ASSEMBLY
B Measure the flue length L. Refer to figures 33 and 34.
Fig. 33 Flue length - rear
A 150 mm without the use of a wall spacing frame
185 mm with the use of a wall spacing frame
B 337.5 mm for Ø 80/125 mm horizontal flue
339.5 mm for Ø 100/150 mm horizontal flue
L flue length
Fig. 34 Flue length - side
B Mark off the lengths shown onto the pipe and cut to
length. The cuts must be square and free from burrs.
Terminal assembly outer (air) pipe - L-70 mm, inner
(flue) pipe - L-50 mm. The measurement is made from
the ridge at the terminal indicating the outer face of
the wall. Refer to figure 35.
Extension outer flue - L-70 mm, inner flue - L-50 mm.
The measurement is from the formed end.
Fig. 35 Flue terminal position
B Assemble flue system completely. Push the flue fully
together. The slope of the terminal outlet must face
downwards (see fig. 35, item 1).
The assembly will be made easier if a solvent free
grease is lightly applied to the male end of the flue.
B Push the assembly through the wall and slide the
terminal onto the flue connector. Ensure that the
terminal is fully entered into the socket on the boiler.
B From the outside fix the flue finishing kit to the
terminal and, after ensuring the flue is properly
inclined towards the boiler, fix the finishing kit to the
wall. If the terminal is within 2 m of the ground where
there is access then an approved terminal guard must
be fitted. The guard must give a clearance of at least
50 mm around the terminal and be fixed with
corrosion resistant screws.
The flue must be inclined from the boiler.
6 720 648 726-032.1TD
5
4
3
2
1
A
L
B
6 720 648 726-031.1TD
L
6 720 648 726-034.1TD
An inner flue finishing kit is provided which
should be fitted to the ducts before
assembly.
6 720 648 726-035.1TD
4
3
2
1

Table of Contents

Related product manuals