EasyManua.ls Logo

Worcester HEATSLAVE 9.24 RSF

Worcester HEATSLAVE 9.24 RSF
45 pages
To Next Page IconTo Next Page
To Next Page IconTo Next Page
To Previous Page IconTo Previous Page
To Previous Page IconTo Previous Page
Loading...
9. Retainthe fan asse
mb
l
ya
nd
M5scr
ew ,
M4wi
ngnuts
and
wa
shers. fl
ue
ho
od
assembiy,
M4
extens
ion
wi
ng b
olts
a
nd
cl
amp
t
ng
ri
ng
_ T
ake
care
no
t t o d
ama
ge
the
compo
nent
s-
1 0 .
Cut
and asse
mble
the
flue
duct
as follo
ws
:
fa
I Do
not
reduce
the
length
of
the
sta
ndard
flue
du
ct
. See
Fig.
11.
(b) Fully engage the standard
fl
ue
du
ct i
nto
t
he
expanded end
of
tl'le
extens
i
on
flue
du
ct.
Using
the
two
ho
les in
the
eK
panded end as a guide.
drill
two
3
mm
diamet
er
ho
les
using
the
dr
ill supplied. Disengage
the
fl
ue
ducts.
(c) Slide the flue
clamp
i
ng
ring
onto
the
s
ta
nda
rd
flue
d
uct
and
l
ocate
at
the
expanded
end
of
the
d
uct
w i
th
the
ch
a
mfer
against
the
expanded
end
- See Fig. 1
~
.
f
d}
App
ly
a smear
of
silicone sealar.t arou
nd
the o
ut
s
ide
of
the
stan
dard fl
ue
duct
. Reasse
mble
and secu;e w i
th
t
he
tw
o
se:
f
tapping
sc
rews
suppli
ed
. See Fig. 11.
(e} Theoverall lengt
hofthefl
ue
ductr
equir
ed
isL + 1
20
mm
(l + 4 . 7 5 in_
)_
Reduce
th
e overall le
ng
th
ofthe
as
sembly
to
this
dimens
i
on
by
cu
tt
ing
surp
lus
f
rom
the
p
la
in end
of
th
e extension piece.
Fit
the
support
spide~s
onto
the
extension
flue duct a
nd
slide i
nto
position
to
finish
against
the
expanded
end
of
the
exte
nsion flue
duct.
Sell Fig.
12.
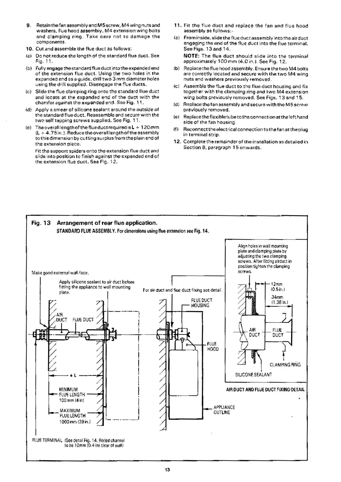
Fig.
13
Arrangement
of
rear flue application.
11.
Fit
the
flue
duct
and
replace
t
he
f
an
and
fl
ue
hood
assembly as foll
ows
:-
!a
)
From
inside, slide the flue du
ct
assembly i
nto
the air duct
en
gagi
ng
the
end
oi
t
he
flue
duct
in
to
the
fl
ue
ter
minal.
See Figs.
13
and
1
4_
NOTE:
The
flue
duct
shou
ld sh
de
i
nto
the
termi
nal
app
r
oximate
ly 1
00
mm
(4.0
in.
l- See Fig.
12
.
(b)
Replace t he fluo hood assemb
ly
. En
su
re the t
wo
M4
bo
lt
s
are
co
rrectly
locate
d and secure
with
the
tw
o
M4
w i
ng
n
uts
and
washers
prev
iously
removed
.
(c)
Assemble
the
flu
e
du
ct to
the
fl
ue
du
ct h
ousing
and fix
together
w i
th
the
clamp
i
ng
r
ing
and t
wo
M4
extens
i
on
w:ng
bolts
previo
usly
rem
ov
ed
.
See
Figs. 1 3 a
nd
1 5-
(d I R
ep
la
ce
t
he
f
<Jn
assembly and
sec
u
re
with
theM
5 scr
ew
praviously
removed
.
(e
I Rep
la
ce the flexible
tube
to
the
con
n
ec
tion a
tt
he
lef
t hand
sid
e of the
fan
h
ousi
ng_
(fl
Reconnect the el
ec
trical con
ne
cti
on
to
the
f
an
atthe
pl
ug
in
term
inal
stri
p.
12
.
Compl
e
te
the
remainder
of
the
ins
tallati
on as d
et
ail
ed
in
Sect
i
on
8, p
aragr<Jph
1 5 onwards_
STANDARD
FLUE
ASSEMBLY
. F
or
dimen
sions
using
flue
extens
i
on
see
Fig
.
14.
;lAake
good
external wal\
face.
Apply
silicon
e
sealant
to
air
du
ct b
e1o
re
fitting the
app
lia
nce
to
wall
mount
in
g
pl
at
e.
- ·- -
-·-
·-1
i
I
!
l
I
i
i
l
I
[
i
1000 mm(39ir
t)
i_ . _ _
___
.J
F
LU
!:
T
ERM
I
NAL
!See
deta
il
Fi
g. 14.
Rolle
d c
ha
nnel
to
be
1
Omm
(0
.4
in
I
c!ear
of w
all
!
F
or
air
duc
t
and
iluc d
uc
t fixing
see
deta
iL
A
li
gn
h
oles
in
wa
ll
mo
unt
ing
plate
and
clamping
pla
te
by
ad
ius
ti
ng
t
he
t
wo
clamp
ing
sctews
. After fitting
ai
r
duct
in
position
1ighten
the
clam
ping
scr
~
ws
_
'
11mm
IQ
_5in
.l
34mm
[1.
36
in
_)
CLA
MPING
RING
SILICON
E
SEALANT
AIR
DUCT
AND
FLUE
DUC
T
FIXI
NG
DET
All
l3
APPLIANCE
OUT
LIN
E

Related product manuals