EasyManua.ls Logo

Worcester HEATSLAVE 9.24 RSF

Worcester HEATSLAVE 9.24 RSF
45 pages
To Next Page IconTo Next Page
To Next Page IconTo Next Page
To Previous Page IconTo Previous Page
To Previous Page IconTo Previous Page
Loading...
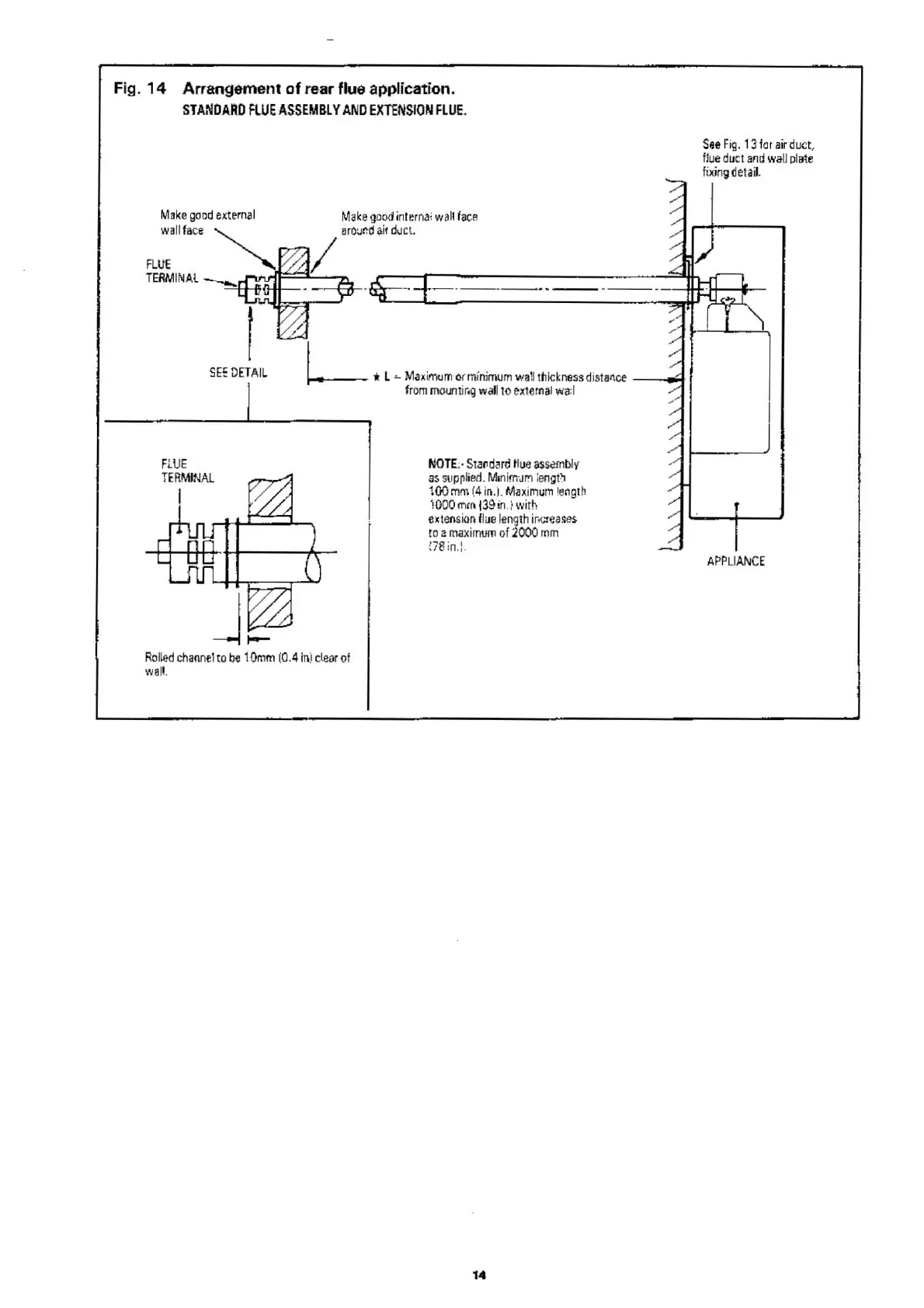
Fig
.
14
Arrangement
of
rear
flue
application.
STANDARD
FLUE
ASSEMBLY
AND
EXTENSION
FLUE.
SE~
DETAIL
F
LUE
T
ERMINAL
I
I
Make
good
interna
i w
al
t
fa
ce
H
rou
t!d
ai
r
dv
c L
L * L
~
Ma
ximumorm
i
nimumwa11thicknessd
is
lal\
ce
_
___,..,..
fr
om
m
ount
ir,g
wa
ll to
external
wa
:l
NOTE
;·
Sta
11d
11rd
tlue
as
s(!m
b
lv
a:;
sup~lied.
M
mim-JP.'I
i
engt'1
HI
Omm
(4
in.
).
Ma~
im
u
m
!e
ng
th
1000
mm
l39
in
. i with
ex
te
n
sion
fl~e
le
ngth
ir
.c:
eases
to
a
maximum
of
:WOO
mm
~78
:n
.:
.
Ro
l~!!d
cha
onelto
be
10
mm
(0
.4
in)
clei)r
of
wal!
.
14
See
Fig
. 13
far
ai
r
duct
,
flue
du
ct
and
wall
olcrte
fixi
ng
detai
l.
APP
LI
AN
CE

Related product manuals