EasyManua.ls Logo

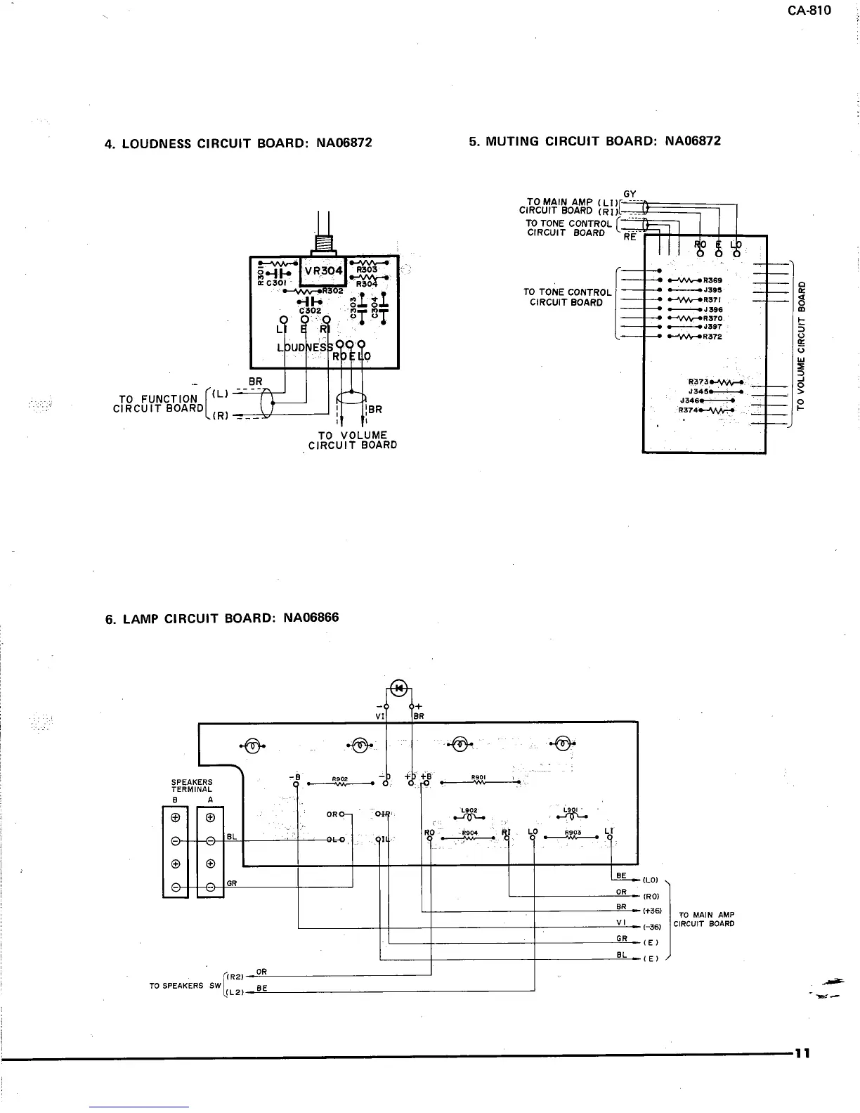
Yamaha CA-810 - Loudness Circuit Board: NA06872; Muting Circuit Board: NA06872; Lamp Circuit Board: NA06866

Yamaha CA-810
21 pages
Print Icon
To Next Page IconTo Next Page
To Next Page IconTo Next Page
To Previous Page IconTo Previous Page
To Previous Page IconTo Previous Page
Loading...

Related product manuals