EasyManua.ls Logo

Yamaha F250A - Changing Engine Oil

Yamaha F250A
96 pages
Print Icon
To Next Page IconTo Next Page
To Next Page IconTo Next Page
To Previous Page IconTo Previous Page
To Previous Page IconTo Previous Page
Loading...
Maintenance
69
5. When fitting the plug, wipe off any dirt
from the threads, and then screw it in to
the correct torque.
T
IP:
If a torque-wrench is not available when you
are fitting a spark plug, a good estimate of the
correct torque is 1/4 to 1/2 turn past finger-
tight. Have the spark plug adjusted to the cor-
rect torque as soon as possible with a torque-
wrench.
6. Install the ignition coil and tighten the
bolts.
7. Install the ECM (Electronic control mod-
ule) cover and tighten the bolts.
EMU29044
Inspecting idle speed
WARNING
EWM00451
Do not touch or remove electrical parts
when starting or during operation.
Keep hands, hair, and clothes away from
the flywheel and other rotating parts
while the engine is running.
NOTICE
ECM00490
This procedure must be performed while
the outboard motor is in the water. A flush-
ing attachment or test tank can be used.
If the boat is not equipped with a tachometer
for the outboard motor, use a diagnostic ta-
chometer for this procedure. Results may
vary depending on whether testing is conduct-
ed with the flushing attachment, in a test tank,
or with the outboard motor in the water.
1. Start the engine and allow it to warm up
fully in neutral until it is running smoothly.
2. Once the engine has warmed up, verify
whether the idle speed is set to specifica-
tion. For idle speed specifications, see
page 9. If you have difficulty verifying the
idle speed, or the idle speed requires ad-
justment, consult a Yamaha dealer or
other qualified mechanic.
EMU37494
Changing engine oil
NOTICE
ECM01710
Change the engine oil after the first 20
hours of operation or 3 months, and every
100 hours or at 1-year intervals thereafter.
Otherwise the engine will wear quickly.
The engine oil should be extracted with an oil
changer.
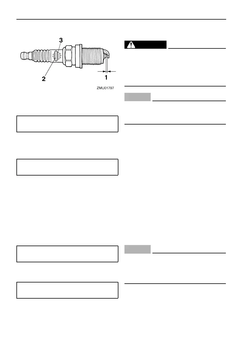
1. Spark plug gap
2. Spark plug part number
3. Spark plug I.D. mark (NGK)
Spark plug gap:
1.01.1 mm (0.0390.043 in)
Spark plug torque:
25.0 Nm (2.55 kgf-m, 18.4 ft-lb)
Bolt tightening torque:
7.0 Nm (0.71 kgf-m, 5.2 ft-lb)
Bolt tightening torque:
8.0 Nm (0.82 kgf-m, 5.9 ft-lb)
U6P278E0.book Page 69 Monday, April 11, 2011 7:37 PM

Table of Contents

Other manuals for Yamaha F250A

Related product manuals