EasyManua.ls Logo

Yamaha F40F - Trouble Recovery; General Troubleshooting Guide; Security System and Starter Issues

Yamaha F40F
106 pages
Print Icon
To Next Page IconTo Next Page
To Next Page IconTo Next Page
To Previous Page IconTo Previous Page
To Previous Page IconTo Previous Page
Loading...
Maintenance
81
EMU30663
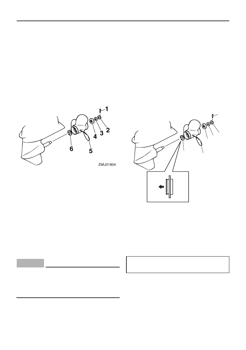
Removing propeller
EMU29198
Spline models
1. Straighten the cotter pin and pull it out
using a pair of pliers.
2. Remove the propeller nut, washer, and
spacer (if equipped). WARNING! Do
not use your hand to hold the propel-
ler when loosening the propeller nut.
[EWM01891]
3. Remove the propeller, washer (if
equipped), and thrust washer.
EMU30673
Installing propeller
EMU46120
Spline models
NOTICE
ECM00502
Make sure to use a new cotter pin and
bend the ends over securely. Otherwise,
the propeller could come off during oper-
ation and be lost.
1. Apply Yamalube Marine Grease or a
corrosion resistant grease to the propel-
ler shaft.
2. Install the spacer (if equipped), thrust
washer, washer (if equipped), and pro-
peller on the propeller shaft. NOTICE:
Make sure to install the thrust washer
before installing the propeller. Other-
wise, the lower case and propeller
boss could be damaged.
[ECM01882]
3. Install the spacer (if equipped) and the
washer. Tighten the propeller nut to the
specified torque.
4. Align the propeller nut slot with the pro-
peller shaft hole. Insert a new cotter pin
in the hole and bend the cotter pin ends.
NOTICE: Do not reuse the cotter pin.
Otherwise, the propeller can come off
during operation.
[ECM01892]
1. Cotter pin
2. Propeller nut
3. Washer
4. Spacer
5. Propeller
6. Thrust washer
1. Cotter pin
2. Propeller nut
3. Washer
4. Spacer
5. Propeller
6. Thrust washer
Propeller nut tightening torque:
34 Nm (3.47 kgf-m, 25.1 ft-lb)
1
2
3
4
5
6
ZMU08159
6BG-9-78-1E0.book 81 ページ 2014年11月20日 木曜日 午後3時3分

Table of Contents

Related product manuals