EasyManua.ls Logo

Yanmar 3JH40 - Page 33

Yanmar 3JH40
198 pages
Print Icon
To Next Page IconTo Next Page
To Next Page IconTo Next Page
To Previous Page IconTo Previous Page
To Previous Page IconTo Previous Page
Loading...
PRODUCT OVERVIEW
JH Series Operation Manual 25
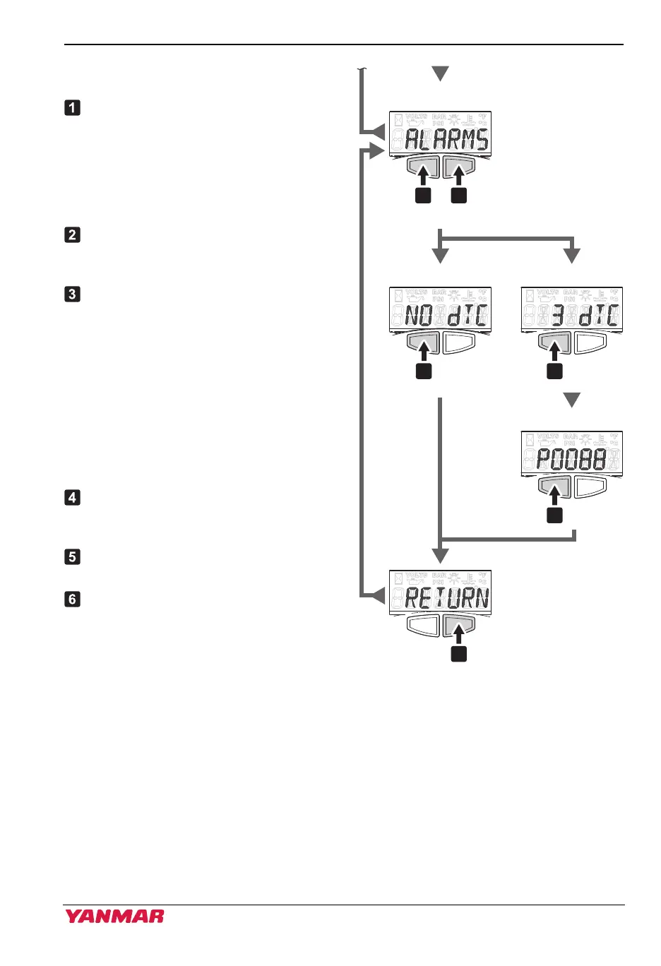
Pressing the button once more, shows the
engine alarms “ALARMS”.
Press and hold the left button, “WAIT”
will display in the LCD about 1 second
while DTC is being read.
Note: DTC means Diagnosis Trouble Code
“NO dTC” or the number of DTC will show
when DTC process is finished.
When “NO dTC” is indicated on the
screen, press the left button and go to
the next screen “RETURN”.
Press and scroll the left button for the
number of DTCs to see all the applying
trouble codes.
Look up the codes in the Failsafe
Diagnosis Functional Specification
Chart on page 142 and consult your
authorized YANMAR Marine dealer or
distributor for repairment.
Note: When “UNKNOWN” is displayed,
consult your authorized YANMAR
Marine dealer or distributor.
When you are done browsing the DTC
list, press the left button to go to
“RETURN”.
When “RETURN” is displayed, press
the right button to return to “ALARMS”.
Press the right button again to return to
the initial hour meter.
Figure 4
Figure 14
Return to hour meter
Or
No DTCs Number of DTCs
DTC list
112534-00EN00
61
5
2 3
4
Alarms
3JH40_4JH45_4JH57_4JH80_4JH110_EN_OPM.book 25 ージ 2022年9月22日 木曜日 午後6時17

Table of Contents

Related product manuals