EasyManua.ls Logo

Yardistry YM12935 - Step 4: Long Beam Assembly Part 1

Yardistry YM12935
60 pages
Print Icon
To Next Page IconTo Next Page
To Next Page IconTo Next Page
To Previous Page IconTo Previous Page
To Previous Page IconTo Previous Page
Loading...
17 support@yardistrystructures.com
4- Inside End Beam (1094)
2- Inside Beam Long (1079)
2- Right Outside Beam Long -(1095)
2- Left Outside Beam Long -(1096)
12- 5/16 x 1-1/4" Hex Bolts
(5/16 Large Flat,Lock Washers, T-nuts)
4- Inside End Beam (1094)
2- Inside Beam Long (1079)
2- Right Outside Beam Long -(1095)
2- Left Outside Beam Long -(1096)
12- 5/16 x 1-1/4" Hex Bolts
(5/16 Large Flat,Lock Washers, T-nuts)
4- Inside End Beam (1094)
2- Inside Beam Long (1079)
2- Right Outside Beam Long -(1095)
2- Left Outside Beam Long -(1096)
12- 5/16 x 1-1/4" Hex Bolts
(5/16 Large Flat,Lock Washers, T-nuts)
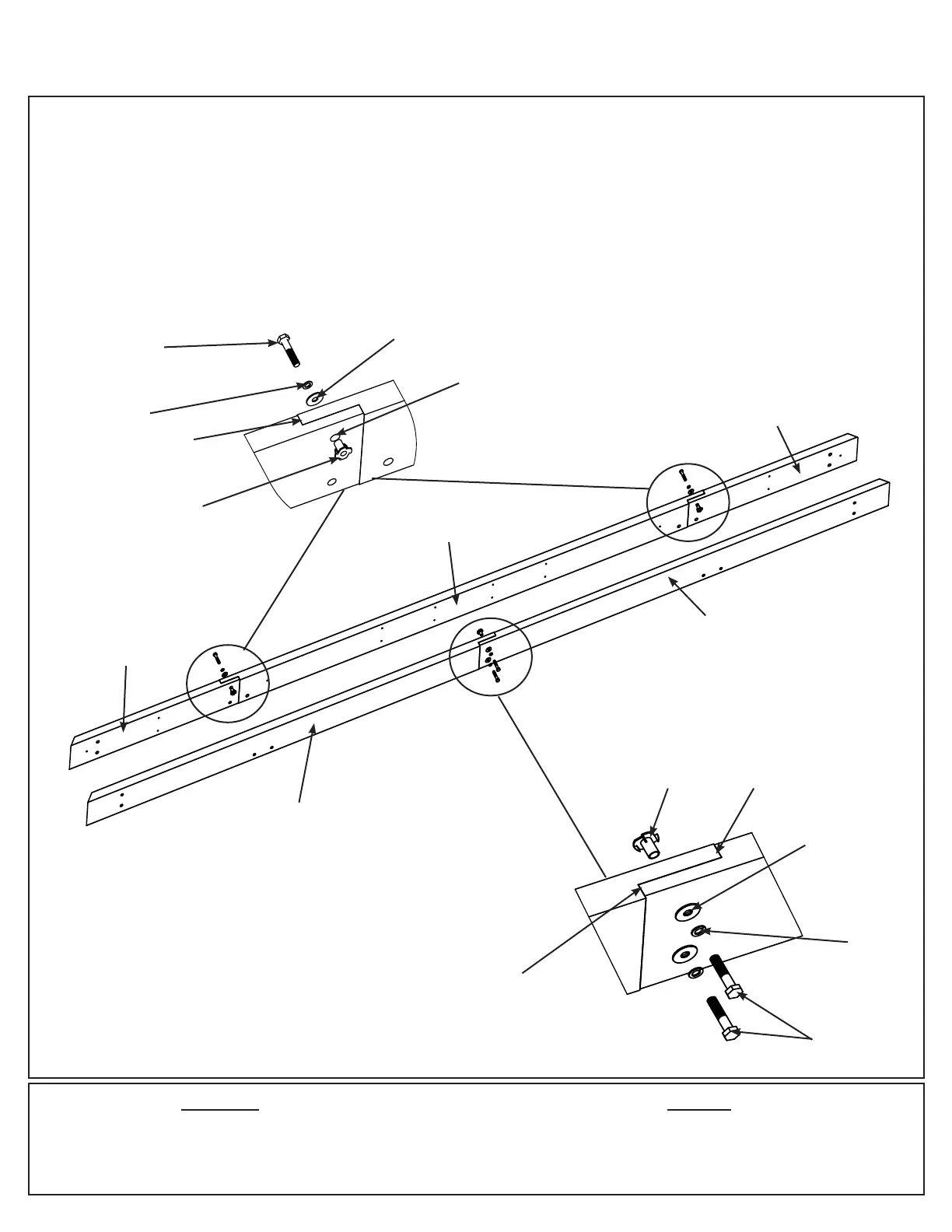
Step 4: Long Beam Assembly
Part 1
A: Connect one (1095) Right Outside Beam Long and one (1096) Left Outside Beam Long using two 5/16 x
1-1/4” Hex Bolts (with 5/16” lock washer, 1/4-5/16” large washer and 5/16” t-nut) as shown in F4.1 and F4.2.
B: Connect one (1094) Inside End Beam to each end of one (1079) Inside Beam Long using one 5/16 x 1-1/4”
Hex Bolts (with 5/16” lock washer, 1/4-5/16” large washer and 5/16” t-nut) in the top hole only, per end, as shown
in F4.1 and F4.3.
C: Repeat Steps A and B one more time to make two Outside Long Beam Assemblies and two Long Beam End
Assemblies.
HardwareWood Parts
8 x 5/16 x 1-1/4” Hex Bolt
(5/16” lock washer, 1/4-5/16” large washer, 5/16” t-nut)
5/16” T-nut
F4.1
F4.2
1/4-5/16”
Large Washer
Tight
5/16” Lock
Washer
5/16 x 1-1/4”
Hex Bolt
(1079) Inside
Beam Long
(1094) Inside
Beam End
Make sure bolt heads
are on the outside of
each Beam Assembly
(1095) Right Outside
Beam Long
2 x (1079) Inside Beam Long
4 x (1094) Inside Beam End
2 x (1095) Right Outside Beam Long
2 x (1096) Left Outside Beam Long
(1096) Left Outside
Beam Long
(1094) Inside
Beam End
Tight
5/16”
T-nut
1/4-5/16”
Large Washer
Tight
5/16” Lock
Washer
5/16 x 1-1/4”
Hex Bolt
F4.3
Use
top
hole

Related product manuals