EasyManua.ls Logo

Yealink SIP-T41P

Yealink SIP-T41P
178 pages
To Next Page IconTo Next Page
To Next Page IconTo Next Page
To Previous Page IconTo Previous Page
To Previous Page IconTo Previous Page
Loading...
Basic Call Features
85
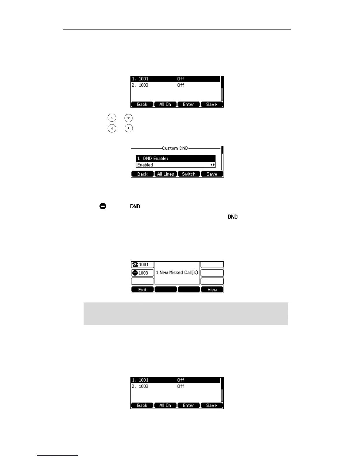
To activate DND in custom mode for a specific account:
1. Press the DND soft key when the phone is idle.
The LCD screen displays a list of accounts registered on the phone.
2. Press or to select the desired account and then press the Enter soft key.
3. Press or , or the Switch soft key to select Enabled from the DND Enable
field.
4. Press the Save soft key to accept the change.
If you activate DND for the default account, the associated line icon will change
to , and the icon will appear on the status bar.
If you activate DND for the non-default account, only the icon will appear on
the status bar.
Incoming calls on the specific line will be rejected automatically, and the LCD
screen prompts "n New Missed Call(s)" ("n" indicates the number of missed calls.
e.g., 1 New Missed Call(s)).
Note
To activate DND in custom mode for all accounts:
1. Press the DND soft key when the phone is idle.
The LCD screen displays a list of accounts registered on the phone.
When DND and busy forward are both enabled for a specific account, calls to the
specific account will be sent to the configured destination number. For more information
on call forward, refer to Call Forward on page 87.

Other manuals for Yealink SIP-T41P

Related product manuals