EasyManua.ls Logo

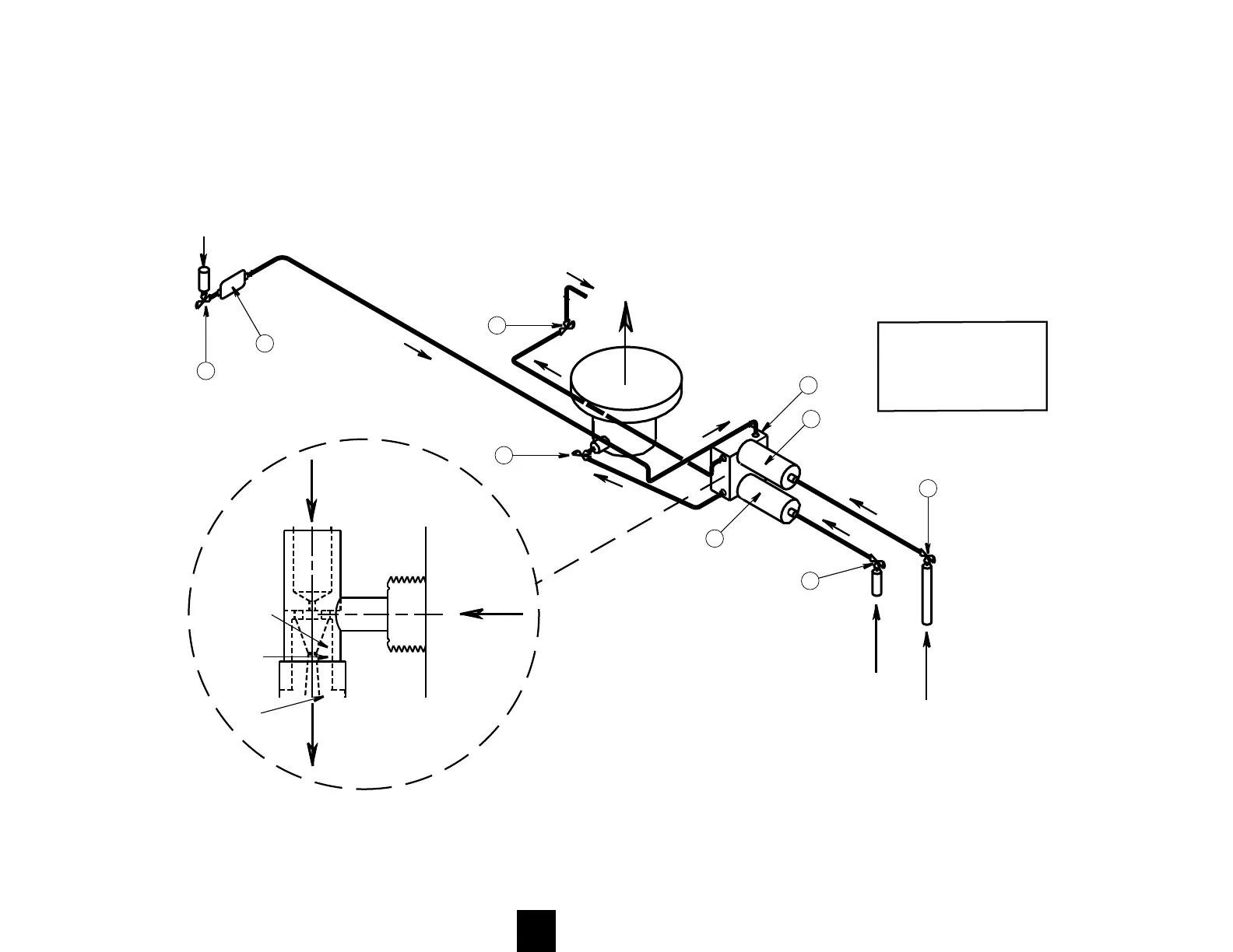
York MILLENNIUM YS - Oil Eductor Schematic

York MILLENNIUM YS
48 pages
Print Icon
To Next Page IconTo Next Page
To Next Page IconTo Next Page
To Previous Page IconTo Previous Page
To Previous Page IconTo Previous Page
Loading...
35
FORM 160.47-NOM3
YORK INTERNATIONAL
1. Eductor Manifold Block
2. Filter Driers
3. Service Isolation Valves
High Pressure Oil
and Refrigerant Gas
from Oil Separator
Mixture of Oil and
Liquid Refrigerant to
Compressor Suction
Oil - Rich
Refrigerant
from Evaporator
Oil from
Evaporator
Trough
Suction Gas
to Compressor
Mixture of Oil and
Refrigerant Gas to
Compressor Port SC - 5
Low Pressure
Oil and Refrigerant
from Evaporator
and Filter Driers
High Pressure Oil
and Refrigerant Gas
from Oil Separator
Mixture of Oil and Refrigerant
to Compressor Suction
3
3
2
2
1
3
3
2
3
Orifice
Nozzle
Reduced
Pressure
Area
Jet Pump Cross Section
Eductor manifold block
contains two jet pumps
FIG. 21 OIL EDUCTOR SCHEMATIC
LD0xxxx
2

Table of Contents

Related product manuals