EasyManua.ls Logo

Zenair CH2000 - Section 12 Cabin Doors; Cabin Door Handle

Default Icon
78 pages
Print Icon
To Previous Page IconTo Previous Page
To Previous Page IconTo Previous Page
Loading...
ZENAIR CH2000 SERVICE MANUAL
_______________________________________________________________________
SECTION XII
CABIN DOORS
DOOR HANDLE
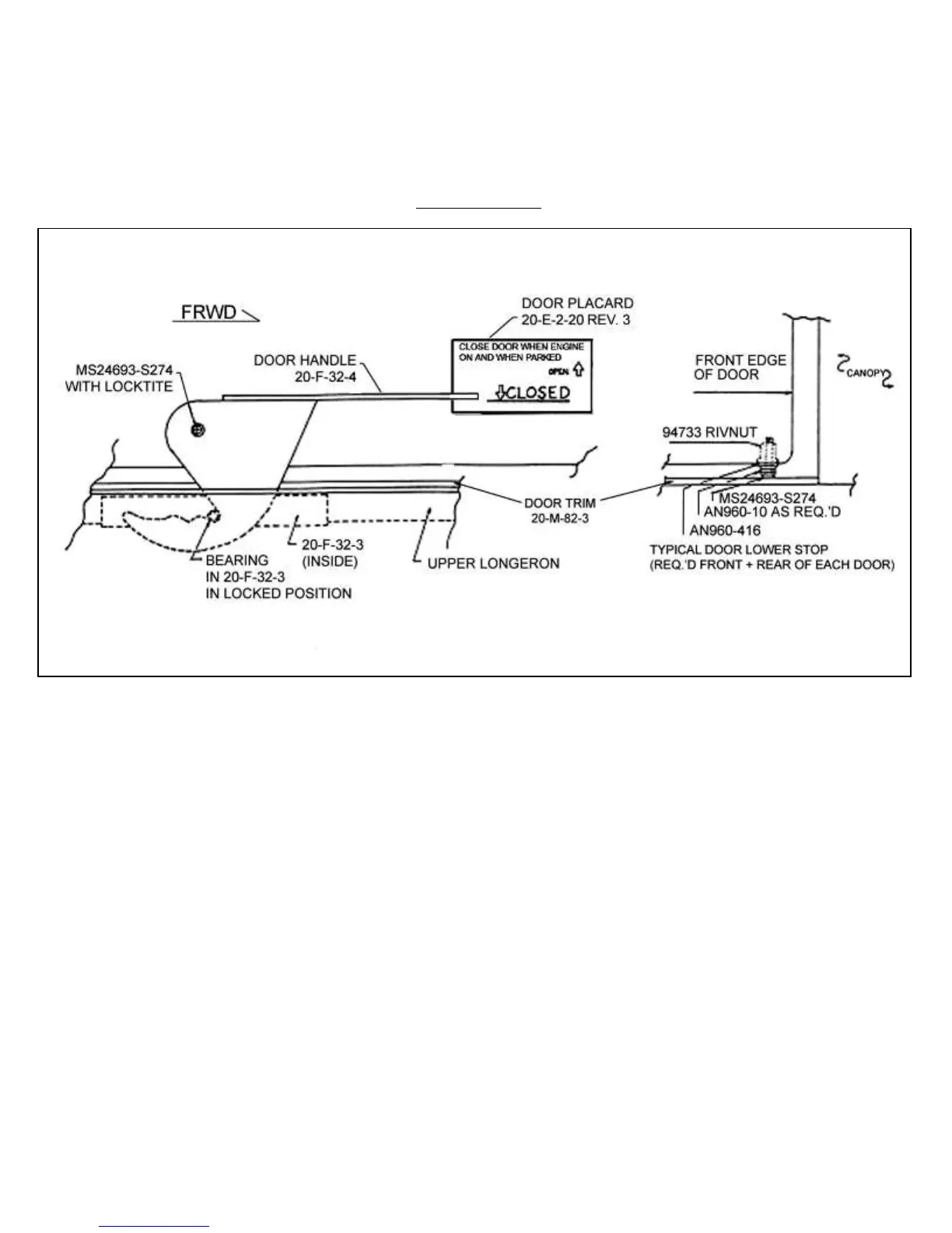
Fig. 26
- From inside the aircraft, with the “gull wing doors” closed, the door handle is
parallel with the arm rest. Label 20-E-2-20 with the “closed line”, is lined up with
the handle.
- Inspect the bearing in 20-F-32-3 and make sure that it is not worn-through, that it
rotates freely and that it is greased.
- The schematic shows a 10-32 rivnut located front + rear of each door, with
washers and countersunk screw. When the door handle is in the closed position,
the front + rear countersunk screws must be tight against 20-M-82-3 (channel on
top of Upper Longeron).
- Make sure that the door handle position is as per schematic in the “closed” position
and that it has “positive locking pressure”.
- Make sure that handles crew MS24693-S274 is tight and that “locktite” has been
applied.
Nov-02 12-1

Table of Contents

Related product manuals