EasyManua.ls Logo

Zetor Proxima 80 2012 - Parking Brake Adjustment Procedure; Brake Pedal Free Travel Adjustment

Zetor Proxima 80 2012
214 pages
Print Icon
To Next Page IconTo Next Page
To Next Page IconTo Next Page
To Previous Page IconTo Previous Page
To Previous Page IconTo Previous Page
Loading...
173
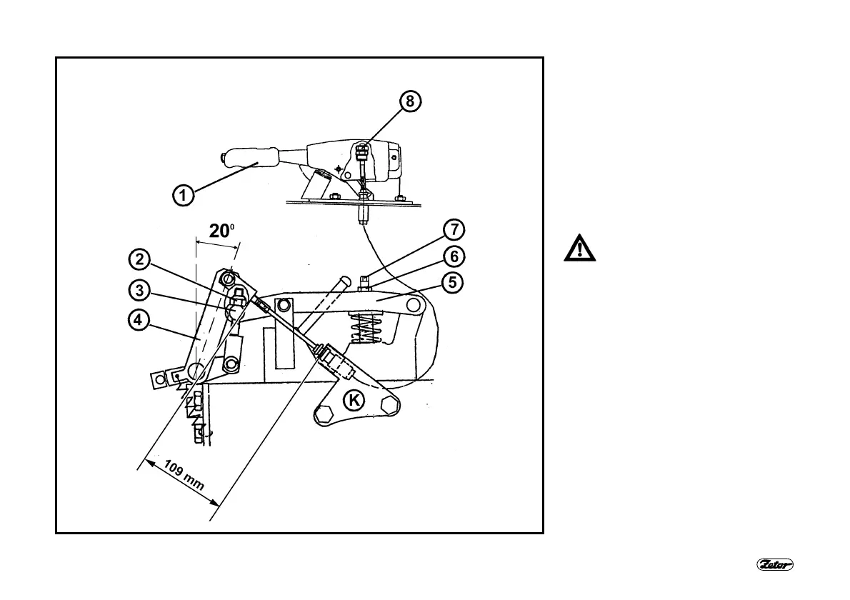
ADJUSTMENT
C764
CHECK AND ADJUSTMENT OF
SERVICE AND PARKING BRAKES
Adjustment must be done in the following
steps:
1. service brake adjustment
2. parking brake adjustment
Another way is not possible. Also only
separate adjustment of either service or
parking brake is not possible. Adjusting
operations depend on one another.
SERVICE BRAKE ADJUSTMENT
Secure the tractor against
movement!
- Lift the tractor rear wheels.
- Loosen the nuts (2), nuts (6) and nuts
(8).
- Loosen the screw (7).
- Let your helper turn one wheel and
simultaneously tighten the screw (5)
until the wheel starts to be braked.
- Loosen the screw (7) by 5/6 turn,
check, if the wheel can turn freely and
secure the screw (7) with the nut (6).
- Adjusting process is the same at the
right-hand and left-hand sides.

Table of Contents

Related product manuals