EasyManua.ls Logo

3Com SuperStack 3 Switch 3300 XM - Rack-Mounting

3Com SuperStack 3 Switch 3300 XM
64 pages
Print Icon
To Next Page IconTo Next Page
To Next Page IconTo Next Page
To Previous Page IconTo Previous Page
To Previous Page IconTo Previous Page
Loading...
Rack-mounting 27
Rack-mounting
The Switch is 1U high and fits in most standard 19-inch racks.
CAUTION: Disconnect all cables from the Switch before continuing.
Remove all self adhesive pads from the underside of the Switch if they
have been fitted.
1 Place the Switch the right way up on a hard flat surface, with the front
facing towards you.
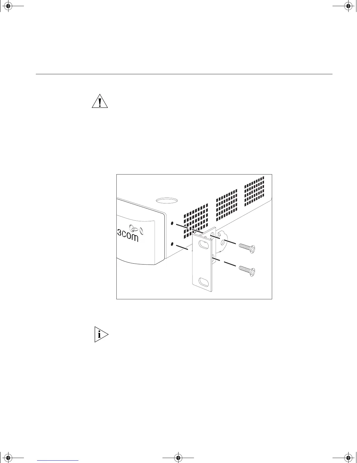
2 Locate a mounting bracket over the mounting holes on one side of the
Switch, as shown in Figure 11.
Figure 11
Fitting a bracket for rack mounting
3 Insert the two screws and tighten with a suitable screwdriver.
You must use the screws supplied with the mounting brackets. Damage
caused to the unit by using incorrect screws invalidates your warranty.
4 Repeat steps 2 and 3 for the other side of the Switch.
5 Insert the Switch into the 19-inch rack and secure with suitable screws
(not provided). Ensure that ventilation holes are not obstructed.
6 Connect network cabling.
1697ua.bk Page 27 Monday, December 3, 2001 11:31 AM

Table of Contents

Related product manuals