EasyManua.ls Logo

A&D UA-787 - Adjusting the Built-In Clock; Setting Three Reminders

A&D UA-787
52 pages
Print Icon
To Next Page IconTo Next Page
To Next Page IconTo Next Page
To Previous Page IconTo Previous Page
To Previous Page IconTo Previous Page
Loading...
ENGLISH 5
Month / day
Hour / Minute
Clock
Clock button
Clock button
First
buzzer
Third
buzzer
Memory
button
Year
Second
buzzer
Using the Monitor
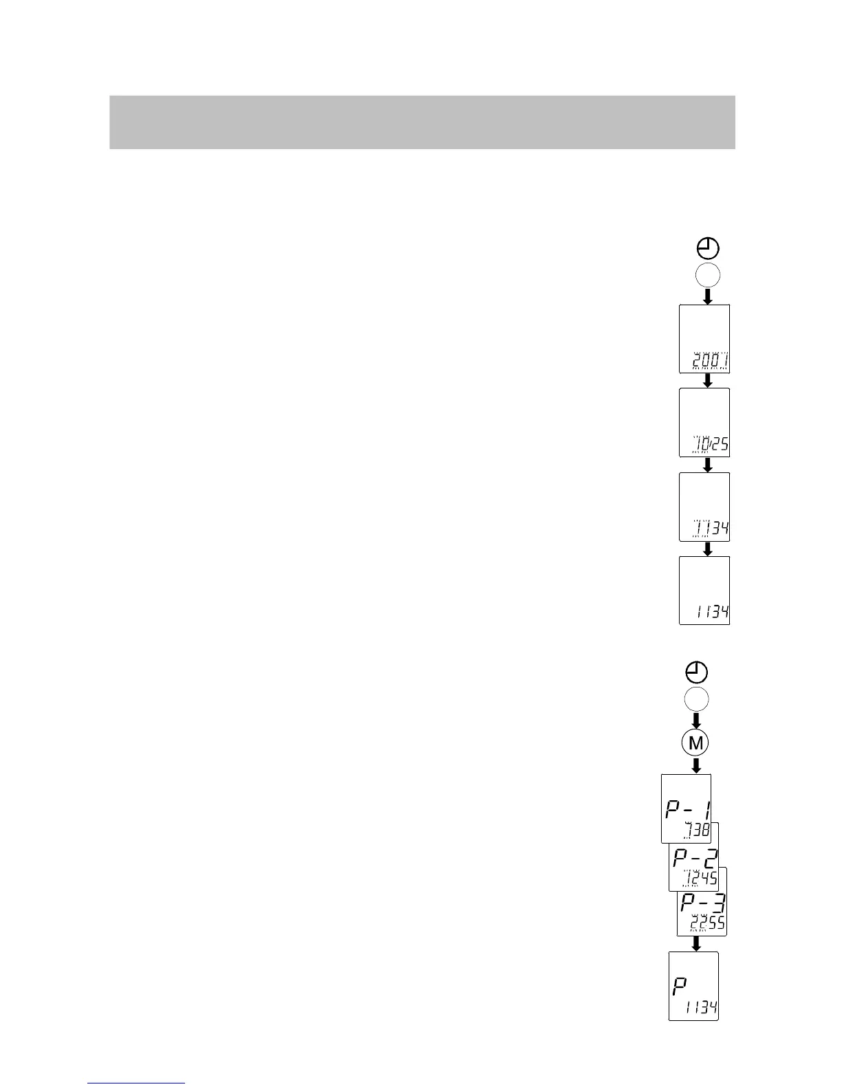
3. Adjusting the Built-in Clock
The monitor has a built-in clock. We recommend that you adjust the clock
prior to use.
1. Press and hold the clock button until the digits start blinking.
2. Select the year using the START button.
Press the clock button to set the current year and
move selection to month/day. The date can be
set anywhere between the years 2000 and 2050.
3. Select the month using the START button.
Press the clock button to set the current month
and move to day selection.
4. Select day using the START button.
Press the clock button to set the current day and
move to hour/minute selection.
5. Select hour using the START button.
Press the clock button to set the current hour and
move to minute selection.
6. Select minute using the START button.
Press the clock button to set the current minute
and activate the clock.
4. Setting Three Reminders
This monitor has 3 reminder alarms. You can set 3
different reminder alarms within a 24-hour period.
1. Press and hold the clock button until the digits
start blinking. Then press the memory button.
“P-1” is shown at the middle line of the display.
2. Select hour using the START button and press the
clock button to set the hour and move to minute
selection. Press the memory button to complete
the reminder setting after selecting minute.
3. Then the display shows “P-2” for the second
reminder. Repeat the above process if you need a
second reminder.

Table of Contents

Related product manuals