EasyManua.ls Logo

ABB A165-L - Table of Tightening Torques; Fig. 63: Tightening Torques of Speed Sensor

ABB A165-L
144 pages
Print Icon
To Next Page IconTo Next Page
To Next Page IconTo Next Page
To Previous Page IconTo Previous Page
To Previous Page IconTo Previous Page
Loading...
Operation Manual / A100-L
9 Disassembly and assembly / 9.24 Table of tightening torques
© Copyright 2021 ABB. All rights reserved. HZTL4034_EN Rev.T December 2021
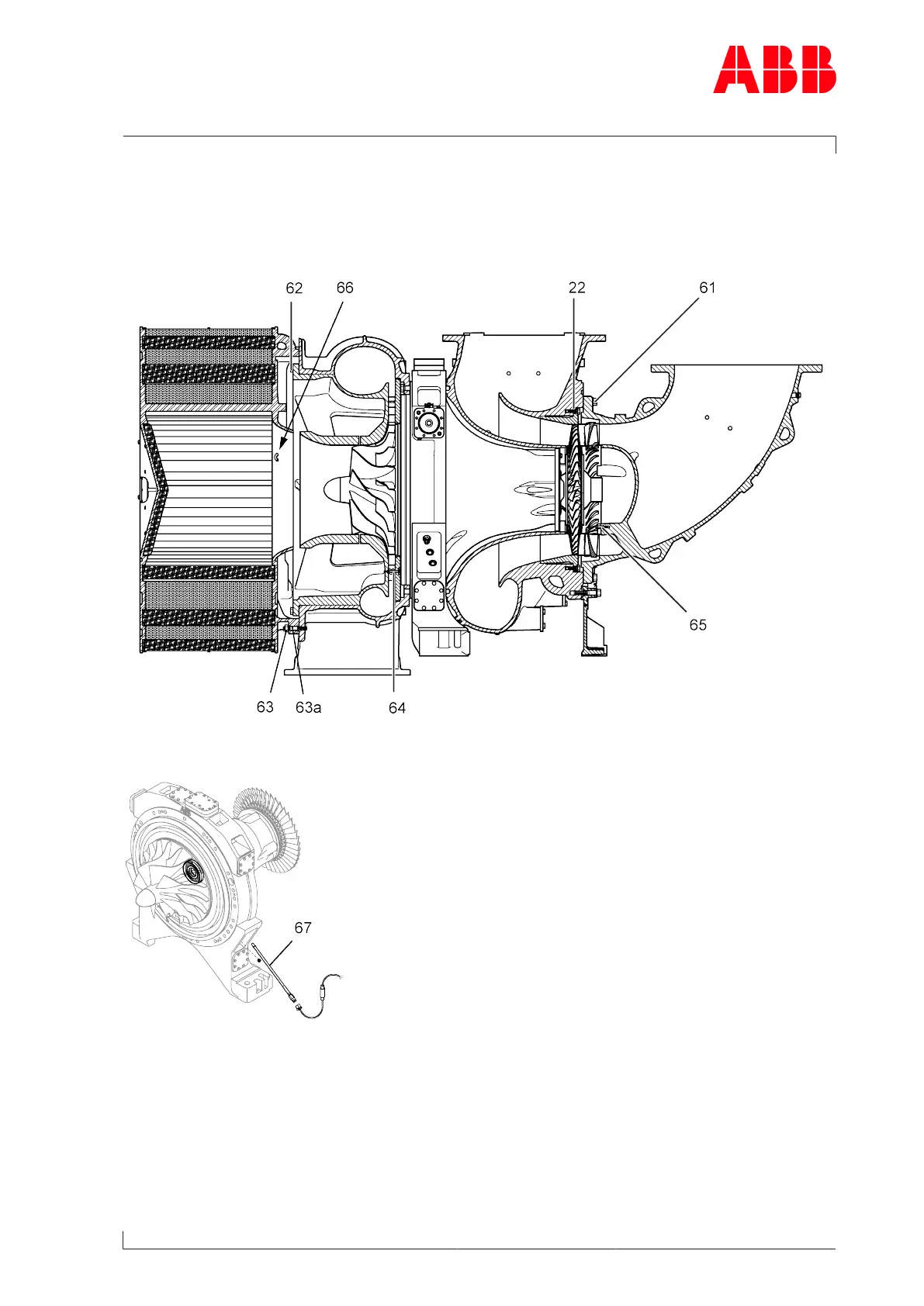
9.24 Table of tightening torques
Tightening torques [Nm]
Fig.62: Overview of tightening torques
Fig.63: Tightening torques of speed sensor
Page 105 / 141

Table of Contents

Other manuals for ABB A165-L

Related product manuals