EasyManua.ls Logo

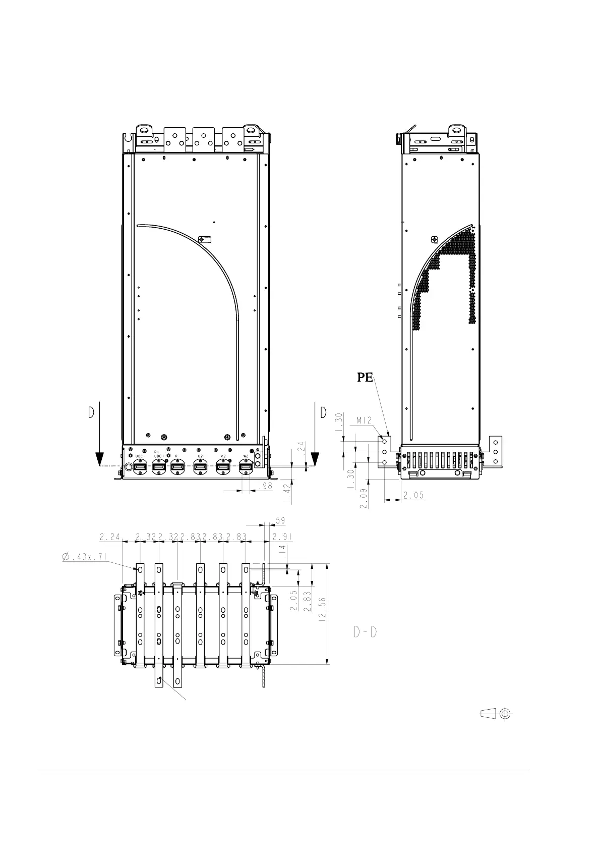
ABB ACS800 - Frame Size R7 Pedestal Busbars on the Long Side (Inches)

ABB ACS800
162 pages
Print Icon
To Next Page IconTo Next Page
To Next Page IconTo Next Page
To Previous Page IconTo Previous Page
To Previous Page IconTo Previous Page
Loading...
Dimensional drawings
144
Frame size R7 pedestal busbars on the long side (inches)
68439221_4/7 A (64796003.asm E)
Bilateral output busbar

Table of Contents

Other manuals for ABB ACS800

Related product manuals