EasyManua.ls Logo

Acom ACOM1010 - Page 7

Acom ACOM1010
21 pages
Print Icon
To Next Page IconTo Next Page
To Next Page IconTo Next Page
To Previous Page IconTo Previous Page
To Previous Page IconTo Previous Page
Loading...
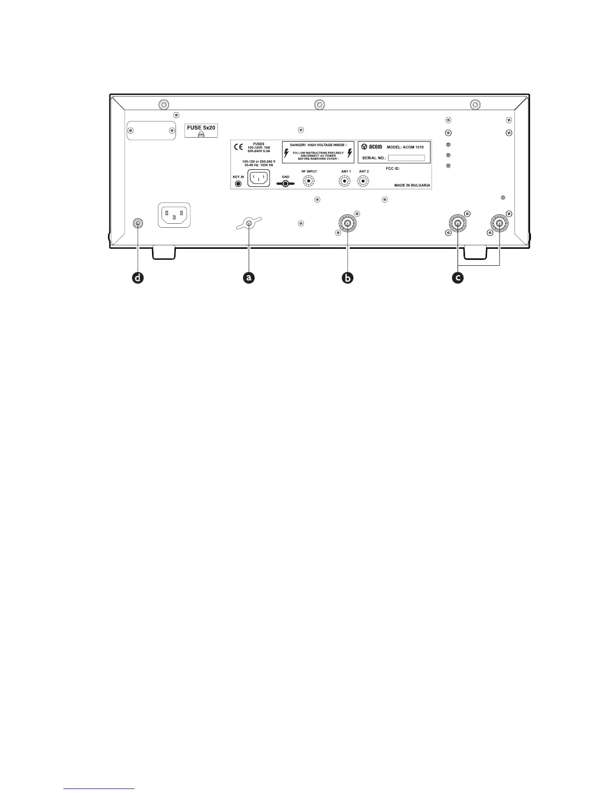
Fig. 2-1 Connections
a) Connect the station’s grounding system to the wing-nut ground stud of the amplifier (on the rear
panel, marked
GND
in Fig. 2-1).
b) Connect a suitable coaxial cable between the transceiver output to the amplifier (rear panel)
RF
INPUT
SO-239 connector, using PL-259 connector.
CAUTION
The coaxial cable from the amplifier’s output must be capable of handling the
amplifier’s output power safely, particularly on the 10-meter band. It is suggested
that, at a minimum, RG8X (including RG8MINI, RK50-4-11, RK50-4-13) or, even
better, RG213 (including RK50-7-11) coaxial cable be used.
c) Connect a suitable coaxial cable from the antenna to the appropriate amplifier output (on the rear
panel, marked
ANT1
or
ANT2
), using a PL-259 plug.
d) Run a shielded cable from the “ground on transmit” socket or terminal on your transceiver
to the amplifier rear panel
KEY-IN
socket. The
KEY-IN
socket uses a standard RCA phono plug
NOTES
Your amplifier will not work if
KEY-IN
is not connected properly.
Transceiver producers assign different names to their “ground on transmit” output terminals, e.g., TX-
GND, SEND, T/R-LINE, etc. Some transceivers may require that “ground on transmit” be implemented
by a software command, or by changing the setting of a switch on the rear panel or inside the transceiver.
Check your transceiver’s manual for more information on keying amplifiers.
e) Preparation of the wall outlet for the amplifier.

Related product manuals