EasyManua.ls Logo

Actron CP9087 - Page 76

Default Icon
88 pages
Print Icon
To Next Page IconTo Next Page
To Next Page IconTo Next Page
To Previous Page IconTo Previous Page
To Previous Page IconTo Previous Page
Loading...
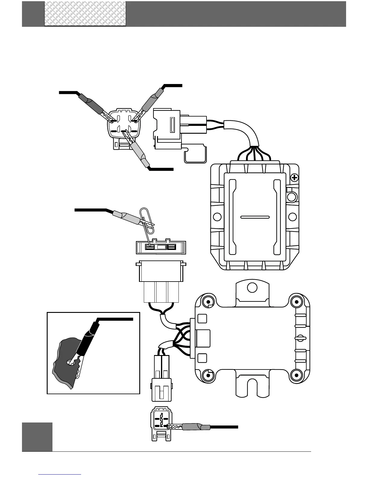
Testing Ignition Modules
3-16
Section
3
Toyota
Green
Red
Yellow
Use a paper clip to
connect test lead.
Yellow
Green
Connect
BLACK test
lead to igniter
mounting hole
or good vehicle
ground.
Black

Table of Contents

Related product manuals