EasyManua.ls Logo

AEG 4546 - Geräteübersicht und Anschluss; Receiver Vorderseite; Receiver Rückseite

AEG 4546
Print Icon
To Next Page IconTo Next Page
To Next Page IconTo Next Page
To Previous Page IconTo Previous Page
To Previous Page IconTo Previous Page
Loading...
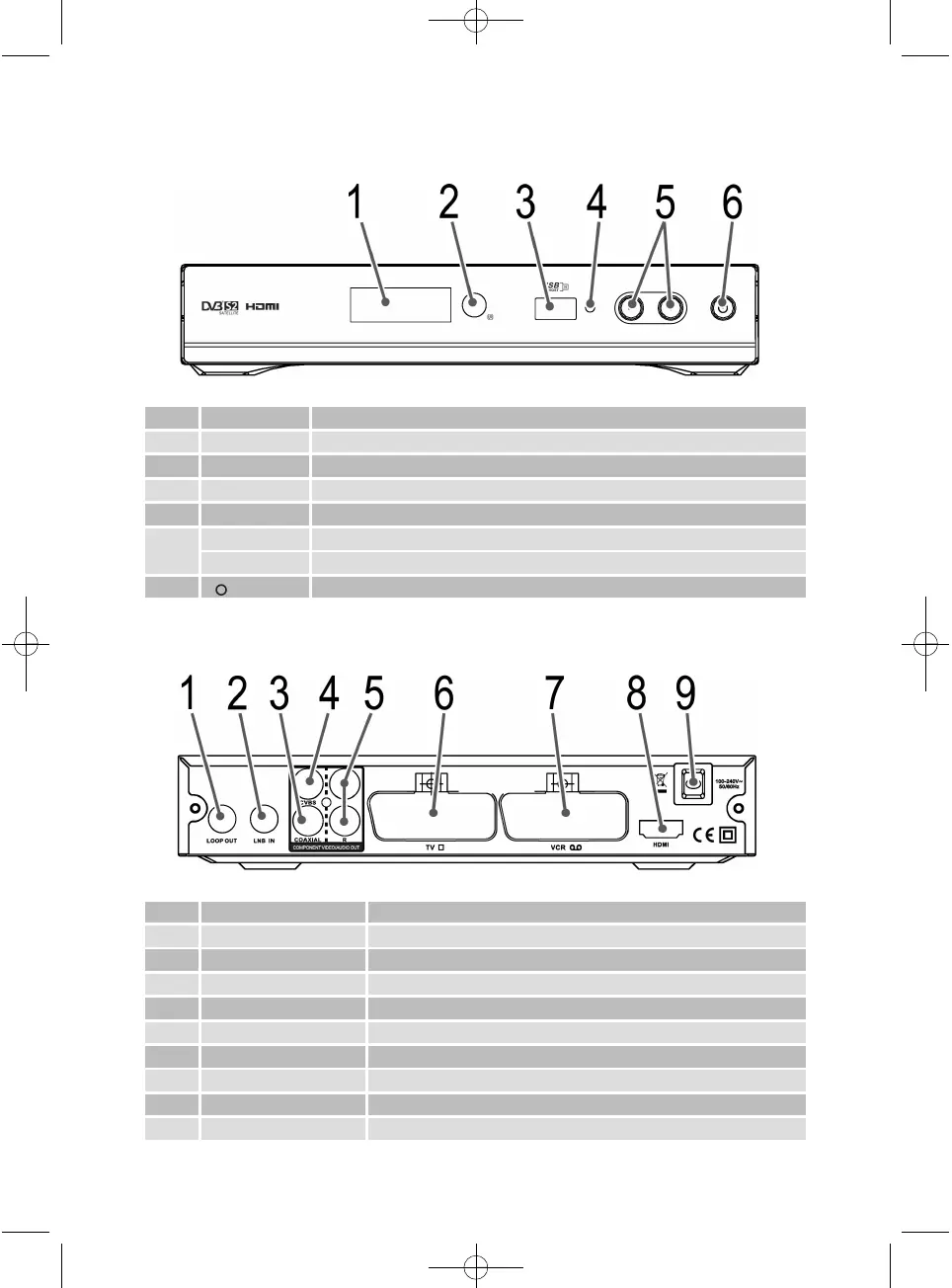
Geräteübersicht und Anschluss
Receiver Vorderseite
Receiver Rückseite
6
Nr. Symbol Erklärung
1 Display
2 IR Infrarotempfänger für die Signale der Fernbedienung
3 USB USB Anschluss
4 Betriebs- bzw. Standby Kontrollleuchte
5 Wechsel zum nächst tieferen Programmplatz
Wechsel zum nächst höheren Programmplatz
6 Netzschalter
I
Nr. Symbol Erklärung
1 LOOP OUT Durchschleif-Anschluss für einen weiteren Receiver
2 LNB IN Anschluss des Koaxial-Kabel, von SAT Schüssel kommend
3 COAXIAL Digitaler koaxialer Audio-Ausgang
4 CVBS Composite-Video-Ausgang
5 L/R Audio-Ausgang
6 TV SCART-Anschluss TV-Gerät
7 VCR SCART-Anschluss Video-Gerät
8 HDMI HDMI Anschluss
9 AC IN~ Netz-Anschluss
AEG_BDA_DVB-S2_4546_D.qxd:CL_BDA_DVB_T776_D_ka.qxd 22.01.2010 9:32 Uhr Seite 6

Table of Contents

Related product manuals