EasyManua.ls Logo

AEG LFR7314O4C - 11.4 Remote Start; 11.5 Over-the-air update

AEG LFR7314O4C
52 pages
Print Icon
To Next Page IconTo Next Page
To Next Page IconTo Next Page
To Previous Page IconTo Previous Page
To Previous Page IconTo Previous Page
Loading...
Every time you switch the appliance on,
the appliance takes about 10 seconds to
connect to the network automatically.
When the indicator stops blinking the
connection is ready.
To switch the wireless connection off,
after the connectivity is configured, press
and hold the Remote Start
button for a few
seconds until the first acoustic signal.
Release the button. appears on the
display for 5 seconds.
If you switch the appliance off and on
again, the wireless connection is
automatically off.
To remove the wireless credentials, press
and hold the Remote Start button for a few
seconds until the second acoustic signal:
appears on the display for a few
seconds.
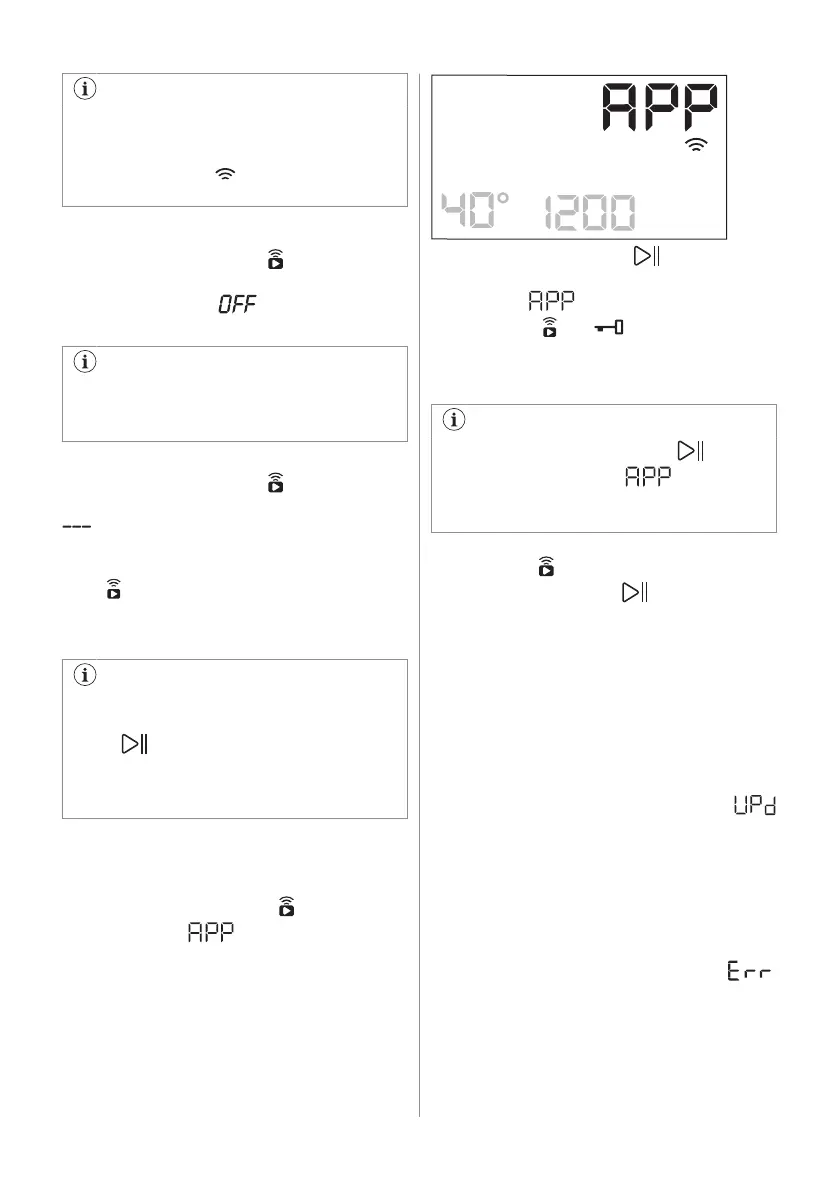
11.4 Remote Start
The Remote Start enables you to start a cycle
in remote control.
The Remote Control activates
automatically when you press the Start/
Pause button to start the programme,
but it is also possible to start a washing
programme remotely. This function is
deactivated when door is open.
When the App is installed and the wireless
connection is complete, you can activate the
Remote Start:
1. Touch the Remote Start button and
the indicator blinks on the display
for a few seconds.
2.
Touch the Start/Pause
button to
activate the Remote Start before the
indicator stops blinking.
The indicators
and appear on the
programme summary screen and the door is
locked. Now it is possible to start the
programme remotely.
When touching the Start/Pause
button after the indicator stops
blinking, the Remote Start is not
activated, but the set programme starts.
To remove the Remote Start, tap on the
Remote Start button and confirm by
pressing the Start/Pause button.
11.5 Over-the-air update
The App may propose an update for your
appliance.
The update is accepted via App only.
If a programme is running, the App notifies
that the update will start at the end of the
programme.
During the update, the appliance shows
in the display.
Do not switch off or unplug the appliance
during update.
The appliance will be usable again at the end
of the update, without any notification about
successful update.
If an error occurs, the appliance shows
in the display: just press any buttons or turn
the knob to return to normal use.
28 ENGLISH

Table of Contents

Related product manuals